FREE REPAIR MANUALS & LABOR GUIDES 1982-2013 Vehicles
Courtesy of Operation CHARM: Car repair manuals for everyone.

Cylinder Head Assembly

CYLINDER HEAD SUB-ASSEMBLY

The cylinder head bolts are tightened in 2 progressive steps.

Install and tighten the 10 cylinder head bolts and 10 plate washers with a 10 mm bi-hexagon wrench in the order shown in the illustration.






Torque 49 Nm (500 kgf-cm, 36 ft-lbf)

Mark the front side of the cylinder head bolts with paint.






Retighten the cylinder head bolts an additional 90°, then once more 45° as shown in the illustration.

Check that the paint mark is now at a 135° angle to the front.


SURFACE VARIATION






CAMSHAFT BEARING CAP

Tighten the 10 bolts in the order shown in the illustration.






Torque 16 Nm (163 kgf-cm, 12 ft-lbf)

CAMSHAFT HOUSING SUB-ASSEMBLY

Bead diameter 3.5 to 4.0 mm (0.138 to 0.158 in.)

Set the camshaft and No. 2 camshaft as shown in the illustration.






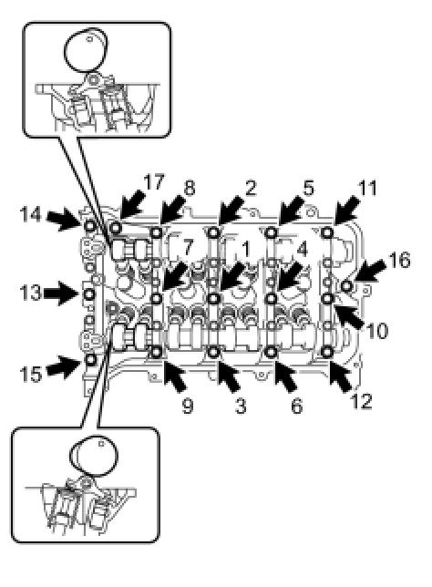
Install the camshaft housing and tighten the 17 bolts in the order shown in the illustration.

Torque 27 Nm (275 kgf-cm, 20 ft-lbf)


INTAKE MANIFOLD TORQUE & SEQUENCE Specifications

EXHAUST MANIFOLD TORQUE & SEQUENCE Specifications

CAMSHAFT GEAR/SPROCKET TORQUE Specifications