FREE REPAIR MANUALS & LABOR GUIDES 1982-2013 Vehicles
Courtesy of Operation CHARM: Car repair manuals for everyone.

Inspection








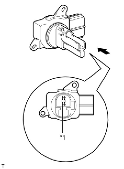
1AR-FE ENGINE CONTROL: MASS AIR FLOW METER: INSPECTION

INSPECTION

1. INSPECT MASS AIR FLOW METER SUB-ASSEMBLY





(a) Perform a visual check for any foreign matter on the platinum hot wire (heater) of the mass air flow meter shown in the illustration.

Text in Illustration





OK:
There is no foreign material.
(b) Check the intake air temperature sensor (built into the mass air flow meter).




(1) Measure the resistance according to the value(s) in the table below.
Standard Resistance:





If the result is not as specified, replace the mass air flow meter sub-assembly.

Text in Illustration