FREE REPAIR MANUALS & LABOR GUIDES 1982-2013 Vehicles
Courtesy of Operation CHARM: Car repair manuals for everyone.

Reassembly








2ZR-FE BATTERY / CHARGING: GENERATOR: REASSEMBLY

REASSEMBLY

1. INSTALL GENERATOR DRIVE END FRAME BEARING





(a) Using SST and a press, press in a new generator drive end frame bearing.
SST: 09950-60010
09951-00470
SST: 09950-70010
09951-07100





(b) Fit the tabs of the bearing retainer plate into the cutouts on the generator drive end frame to install the bearing retainer plate.
(c) Install the 4 screws.
Torque: 2.3 Nm (23 kgf-cm, 20 in-lbf)
2. INSTALL GENERATOR ROTOR ASSEMBLY
(a) Place the drive end frame on the clutch pulley.





(b) Install the generator rotor assembly to the generator drive end frame.





(c) Place the generator washer on the generator rotor.
3. INSTALL GENERATOR COIL ASSEMBLY





(a) Using SST and a press, slowly press in the generator coil assembly to the drive end frame.
SST: 09612-70100
09612-07240





(b) Install the 4 bolts.
Torque: 5.8 Nm (59 kgf-cm, 51 in-lbf)
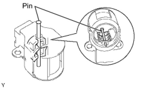
4. INSTALL GENERATOR BRUSH HOLDER ASSEMBLY





(a) While pushing the 2 brushes into the generator brush holder assembly, insert a 1.0 mm (0.0394 in.) pin into the generator brush holder hole.





(b) Install the brush holder assembly to the generator coil with the 2 screws.
Torque: 1.8 Nm (18 kgf-cm, 16 in-lbf)





(c) Pull out the pin from the generator brush holder assembly.
5. INSTALL GENERATOR TERMINAL INSULATOR





(a) Install the terminal insulator to the generator coil.
NOTE: Be careful to the installation direction of the terminal insulator as shown in the illustration.

6. INSTALL GENERATOR REAR END COVER





(a) Install the generator rear end cover to the generator coil with the 3 nuts.
Torque: 4.6 Nm (47 kgf-cm, 41 in-lbf)
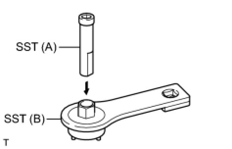
7. INSTALL GENERATOR CLUTCH PULLEY
(a) Temporarily install the clutch pulley onto the rotor shaft.





(b) Set SST (A) and (B).
SST: 09820-63021





(c) Clamp SST (A) in a vise.
(d) Place the rotor shaft end into SST (A).





(e) Fit SST (B) to the clutch pulley.





(f) Tighten the pulley by turning SST (B) in the direction shown in the illustration.
without SST - Torque: 111 Nm (1127 kgf-cm, 82 ft-lbf)
with SST - Torque: 84 Nm (857 kgf-cm, 62 ft-lbf)

NOTICE:
- The "with SST" torque value is effective when using SST with a fulcrum length of 100 mm (3.94 in.).
- Use a torque wrench with a fulcrum length of 318 mm (12.52 in.).
- This torque value is effective when SST is parallel to the torque wrench.

(g) Remove the generator assembly from SST.
(h) Check that the clutch pulley rotates smoothly.
(i) Install a new clutch pulley cap to the clutch pulley.