FREE REPAIR MANUALS & LABOR GUIDES 1982-2013 Vehicles
Courtesy of Operation CHARM: Car repair manuals for everyone.

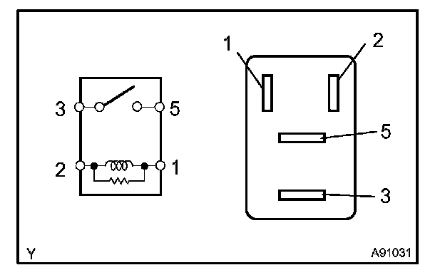
Main Relay (Computer/Fuel System): Testing and Inspection

INSPECTION

INSPECT RELAY (Marking: EFI, C/OPN)
a. Remove the EFI and C/OPN relays from the engine room J/B.







b. Using an ohmmeter, measure the resistance of the relay.

If the result is not as specified, replace the relay.