Main Relay (Computer/Fuel System): Testing and Inspection
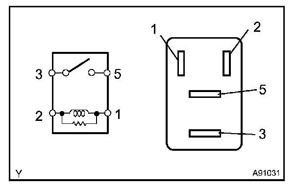
INSPECTIONINSPECT RELAY (Marking: EFI, C/OPN)
a. Remove the EFI and C/OPN relays from the engine room J/B.
b. Using an ohmmeter, measure the resistance of the relay.
If the result is not as specified, replace the relay.