FREE REPAIR MANUALS & LABOR GUIDES 1982-2013 Vehicles
Courtesy of Operation CHARM: Car repair manuals for everyone.

Main Relay (Computer/Fuel System): Testing and Inspection







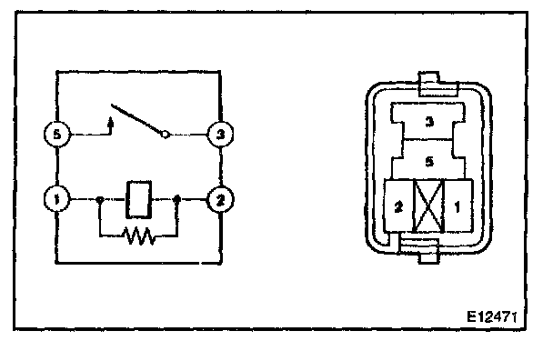
E.F.I ECU RELAY
Continuity inspection.
1. Using an ohmmeter, check that continuity exists between each terminal.

Specified condition:
Between terminals 1 and 2:........................Continuity
Between terminals 3 and 5:........................No continuity

2. Using an ohmmeter, check that continuity exists between terminals 3 and 5 when the battery voltage is applied across terminals 1 and 2.











E.F.I. CIRCUIT OPENING RELAY ASSY
Continuity Inspection.
1. Using an ohmmeter, check that continuity exists between each terminal.

Specified condition:
Between terminals 1 and 2:...................Continuity
Between terminals 3 and 5:....................No continuity

2. Using an ohmmeter, check that continuity exists between terminals 3 and 5 when the battery voltage is applied across terminals 1 and 2.