FREE REPAIR MANUALS & LABOR GUIDES 1982-2013 Vehicles
Courtesy of Operation CHARM: Car repair manuals for everyone.

Starting System: Testing and Inspection

INSPECTION
1. INSPECT STARTER ASSY

NOTICE: These tests must be performed within 3 to 5 seconds to prevent burnout of the coil.

(a) Perform the pull-in test.





(1) Remove the nut, then disconnect the lead wire from terminal C.





(2) Connect the battery to the starter repair service kit as shown in the illustration. Check that the clutch pinion gear is extended.

If the clutch pinion gear is not extended, replace the starter repair service kit.





(b) Perform the hold-in test.
(1) Disconnect the negative (-) lead from terminal C with the lead wire disconnected from terminal C. Check that the clutch pinion gear remains extended.

If the clutch pinion gear returns, replace the starter repair service kit.





(c) Check the clutch pinion gear returns.
(1) Disconnect the negative (-) lead from the starter body. Check that the clutch pinion gear returns.

If the clutch pinion gear does not return, replace the starter repair service kit.

(d) Perform the no-load performance test.





(1) Connect the lead wire to terminal C with the nut. Make sure that the lead is not grounded.
Torque: 10 N-m (102 kgf-cm, 7 ft-lbf)

(2) Clamp the starter in a vise.





(3) Connect the battery and an ammeter to the starter as shown in the illustration.
(4) Check that the starter rotates smoothly and steadily with the clutch pinion gear extended. Check that the ammeter reads the specified current.
Specified current: 90 A or less at 11.5 V

If the current is not as specified, replace the starter repair service kit.

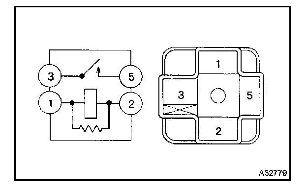
2. INSPECT STARTER RELAY ASSY
(a) Check the continuity.








(1) Using an ohmmeter, check for continuity between each terminal.

If the result is not as specified, replace the starter relay.