Knock Sensor: Service and Repair
REPLACEMENT1. DISCHARGE FUEL SYSTEM PRESSURE
2. DRAIN ENGINE COOLANT
3. REMOVE V-BANK COVER SUB-ASSY
4. REMOVE AIR CLEANER CAP SUB-ASSY
5. REMOVE EMISSION CONTROL VALVE SET
6. REMOVE INTAKE AIR SURGE TANK
7. REMOVE INTAKE MANIFOLD
a. Disconnect the fuel pipe No. 1.
1. Remove the fuel pipe clamp.
2. Pinch the tube connector and then pull out the fuel pipe No. 1.
NOTE:
- Check the connector for dirt, mud or other contamination. Clean if necessary.
- Be sure to keep the tube connector, pipe and O-ring clean. They can become contaminated easily.
- Do not use tools when disconnecting the fuel pipe.
- Do not bend or twist the nylon tube. Protect the connector by covering it with a vinyl or plastic bag.
- When the pipe and the connector are stuck, push and pull the connector to release it. Then pull the connector out carefully.
b. Lock the hose clamp, as shown in the illustration.
c. Disconnect the heater inlet water hose.
d. Remove the nut and disconnect the ground cable.
e. Disconnect the 6 fuel injector connectors.
f. Loosen and remove the intake manifold's 9 bolts and 2 nuts little by little in the numerical order shown in the illustration.
g. Remove the intake manifold.
NOTE: Fully removing each bolt and nut one by one may damage the intake manifold, bolts and nuts.
8. REMOVE WATER OUTLET
a. Disconnect the radiator hose inlet.
b. Disconnect the ECT sensor connector.
c. Remove the clamp.
d. Remove the 2 bolts, 2 nuts and 2 washers.
e. Lock the hose clamp as shown in the illustration. Then remove the water outlet together with the water bypass hose No. 1.
f. Remove the 2 gaskets from the 2 cylinder heads.
9. REMOVE KNOCK SENSOR (1MZ-FE ENGINE TYPE)
a. Disconnect the 2 knock sensor connectors.
b. Using SST, remove the 2 knock sensors.
SST 09249-63010, 09816-30010
10. REMOVE KNOCK SENSOR (3MZ-FE ENGINE TYPE)
a. Disconnect the 2 knock sensor connectors.
b. Remove the 2 nuts and 2 knock sensors.
11. INSTALL KNOCK SENSOR (1MZ-FE ENGINE TYPE)
a. Using SST, install the 2 knock sensors.
SST 09249-63010, 09816-30010
Torque: 39 N.m (398 kgf.cm, 29 ft.lbf)
b. Connect the 2 knock sensors.
12. INSTALL KNOCK SENSOR (3MZ-FE ENGINE TYPE)
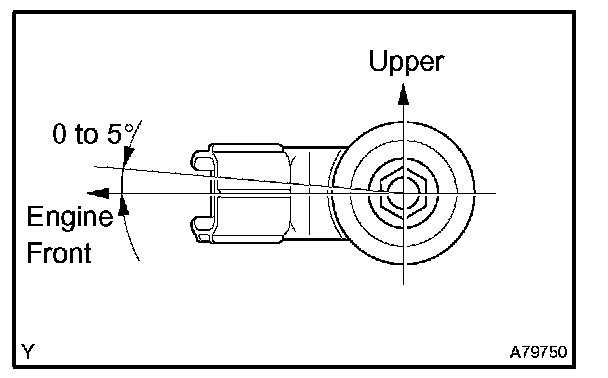
a. Install the 2 knock sensors with the 2 nuts, as shown in the illustration.
Torque: 20 N.m (199 kgf.cm, 14 ft.lbf)
b. Connect the 2 knock sensor connectors.
13. INSTALL WATER OUTLET
a. Install 2 new gaskets to the 2 cylinder heads.
b. Install the water outlet together with the water bypass hose No. 1 and unlock the hose clamp.
c. Tighten the 2 bolts, 2 nuts and 2 washers.
Torque: 15 N.m (153 kgf.cm, 11 ft.lbf)
d. Install the clamp.
e. Connect the ECT sensor connector.
f. Connect the radiator hose inlet.
14. INSTALL INTAKE MANIFOLD
a. Tighten the intake manifolds's 9 bolts and 2 nuts little by little in the numerical order shown in the illustration.
Torque: 15 N.m (153 kgf.cm, 11 ft.lbf)
NOTE: In this case, fully tightening one of these bolts or nuts without partially tightening the other bolts or nuts in the group may damage the intake manifold, bolts and nuts.
b. Retighten the water outlet mounting bolts and nuts.
Torque: 15 N.m (153 kgf.cm, 11 ft.lbf)
c. Install the ground cable with the nut.
Torque: 8.4 N.m (86 kgf.cm, 74 in.lbf)
d. Connect the heater inlet water hose.
e. Connect the fuel pipe No. 1.
1. Push the quick connector into the pipe until it makes "click" sound.
NOTE:
- Check if there is any damage or contamination on the connected part.
- After connecting, confirm that the connector and pipe are securely connected by trying to pull them apart.
2. Install the fuel pipe clamp.
15. INSTALL INTAKE AIR SURGE TANK
16. INSTALL EMISSION CONTROL VALVE SET
17. INSTALL AIR CLEANER CAP SUB-ASSY
18. CHECK CONNECTION OF VACUUM HOSE
19. ADD ENGINE COOLANT
20. CHECK FOR ENGINE COOLANT LEAKS
21. CHECK FOR FUEL LEAKS
22. INSTALL V-BANK COVER SUB-ASSY