FREE REPAIR MANUALS & LABOR GUIDES 1982-2013 Vehicles
Courtesy of Operation CHARM
:
Car repair manuals for everyone.
Home
>>
Toyota
>>
2004
>>
Camry V6-3.0L (1MZ-FE)
>>
Repair and Diagnosis
>>
Powertrain Management
>>
Computers and Control Systems
>>
Relays and Modules - Computers and Control Systems
>>
Main Relay (Computer/Fuel System)
>>
Testing and Inspection
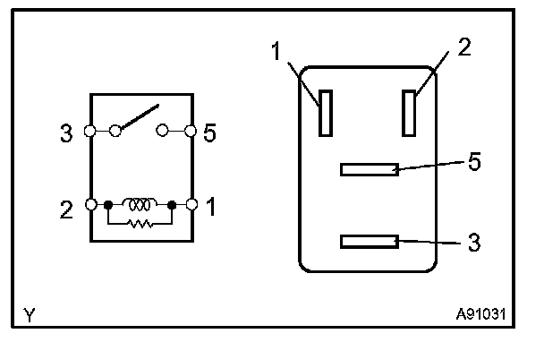
Main Relay (Computer/Fuel System): Testing and Inspection
INSPECTION
INSPECT RELAY (Marking: EFI, C/OPN)
Standard:
Using an ohmmeter, measure the resistance of the relay.
If the result is not as specified, replace the relay.