Main Relay (Computer/Fuel System): Testing and Inspection
1. REMOVE ENGINE COMPARTMENT RELAY BOX COVER
2. REMOVE EFI MAIN RELAY (Marking: EFI)
3. INSPECT EFI MAIN RELAY CONTINUITY
DENSO made:
1. Using an ohmmeter, check that there is continuity between terminals 1 and 2.
If there is no continuity, replace the relay.
2. Check that there is no continuity between terminals 3 and 5.
If there is continuity, replace the relay.
BOSCH made:
1. Using an ohmmeter, check that there is continuity between terminals 85 and 86.
If there is no continuity, replace the relay.
2. Check that there is no continuity between terminals 30 and 87.
If there is continuity, replace the relay.
4. INSPECT EFI MAIN RELAY OPERATION
DENSO made:
1. Apply battery positive voltage across terminals 1 and 2.
2. Using an ohmmeter, check that there is continuity between terminals 3 and 5.
If there is no continuity, replace the relay.
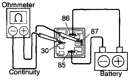
BOSCH made:
1. Apply battery positive voltage across terminals 85 and 86.
2. Using an ohmmeter, check that there is continuity between terminals 30 and 87.
If there is no continuity, replace the relay.
5. REINSTALL EFI MAIN RELAY
6. REINSTALL RELAY BOX COVER