FREE REPAIR MANUALS & LABOR GUIDES 1982-2013 Vehicles
Courtesy of Operation CHARM: Car repair manuals for everyone.

Navigation Module: Service and Repair

Navigation Body

REMOVAL
1. Disconnect the ground cable from the battery.
2. Slide the driver's seat to the forward position.
3. Remove the cover attachment bolts, and remove the cover.






4. Disconnect the connector.
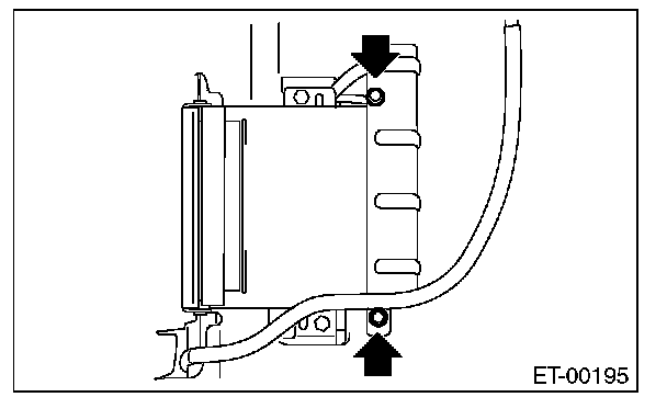
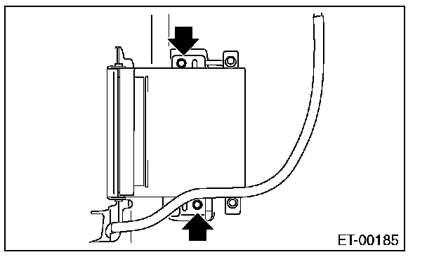
5. Remove the bolts and then remove the navigation unit.






INSTALLATION
Install in the reverse order of removal.

Tightening torque: 4.5 N.m (0.46 kgf-m, 3.32 ft-lb)