FREE REPAIR MANUALS & LABOR GUIDES 1982-2013 Vehicles
Courtesy of Operation CHARM: Car repair manuals for everyone.

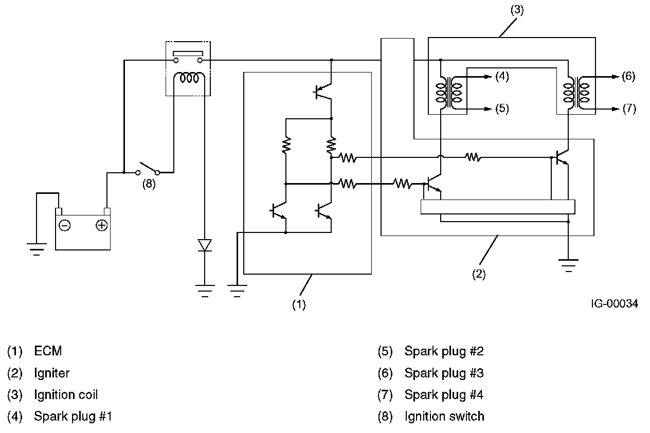
Ignition Coil: Description and Operation

Ignition Coil







Ignition coils are made integral with an igniter. The ignition system is of a dual-ignition-coil design, each coil causing two plugs to generate sparks simultaneously. In response to the signal from the ECM, the ignitor supplies current to an ignition coil and the ignition coil supplies high-voltage current to a pair of spark plugs (#1 and #2 or #3 and #4) simultaneously.