FREE REPAIR MANUALS & LABOR GUIDES 1982-2013 Vehicles
Courtesy of Operation CHARM: Car repair manuals for everyone.

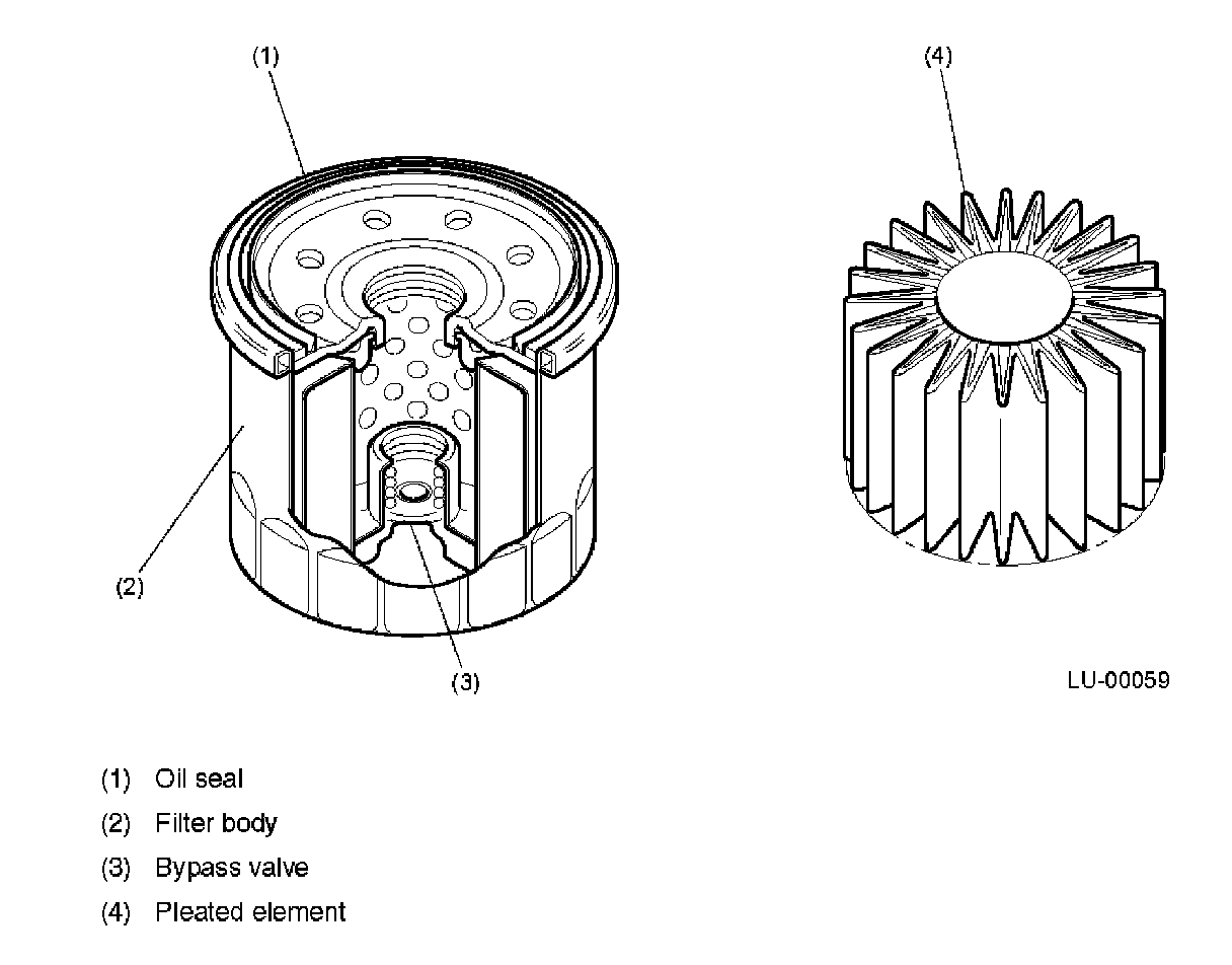
Oil Filter: Description and Operation

Oil Filter





The oil filter is a full-flow filtering, cartridge type that utilizes a paper element. It also has a built-in bypass valve. The filter element has a special pleat design to increase the effective filtering area.