FREE REPAIR MANUALS & LABOR GUIDES 1982-2013 Vehicles
Courtesy of Operation CHARM: Car repair manuals for everyone.

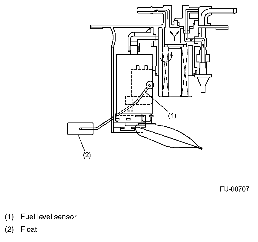
Fuel Level Sensor (U5/Low Emissions)

FUEL LEVEL SENSOR




The fuel level sensor is integrated with the fuel pump which is located in the fuel tank. The sensor outputs an electric resistance signal that varies with movement of its float to indicate the level of the fuel remaining in the tank.