FREE REPAIR MANUALS & LABOR GUIDES 1982-2013 Vehicles
Courtesy of Operation CHARM
:
Car repair manuals for everyone.
Home
>>
Subaru
>>
2004
>>
Impreza F4-2.5L SOHC
>>
Repair and Diagnosis
>>
Specifications
>>
Mechanical Specifications
>>
Steering
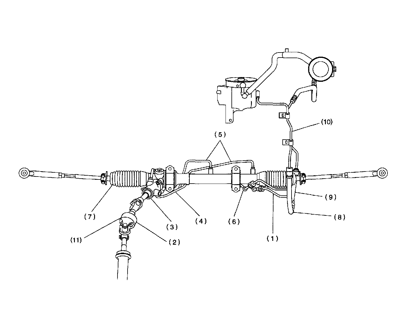
Steering
SPECIFICATIONS
CAUTION:
This table lists various clearances that must be correctly adjusted to ensure normal vehicle driving without interfering noise, or any other faults.