FREE REPAIR MANUALS & LABOR GUIDES 1982-2013 Vehicles
Courtesy of Operation CHARM: Car repair manuals for everyone.

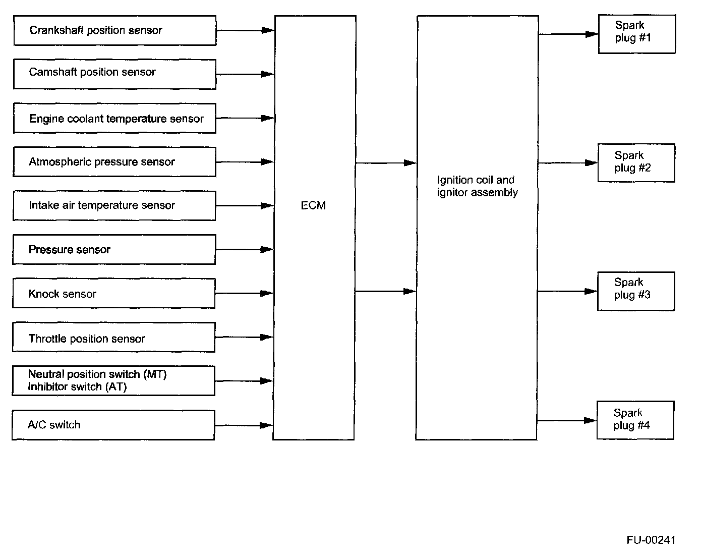
Ignition System Control




- The ECM determines operating condition of the engine based on signals from the pressure sensor, engine coolant temperature sensor, intake air temperature sensor, crankshaft position sensor and other sources. It then selects the ignition timing most appropriate for the condition thus determined from those stored in its memory and outputs at that timing a primary current OFF signal to the ignitor to initiate ignition.
- This control uses a quick-to-response learning feature by which the data stored in the ECM memory is processed in comparison with information from various sensors and switches.
- Thus, the ECM can always perform optimum ignition timing taking into account the output, fuel consumption, exhaust gas, and other factors for every engine operating condition.
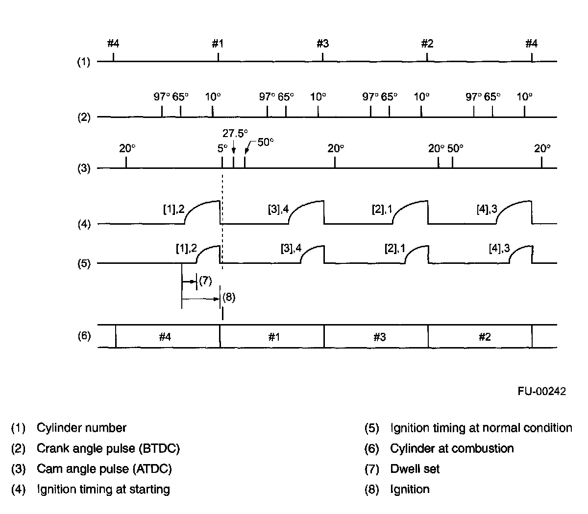
- Ignition control during start-up




- Ignition control after start of engine
Between the 97 ° and 65 ° crank angle signal, the ECM measures the engine speed, and by using this data it decides the dwell set timing and ignition timing according to the engine condition.