FREE REPAIR MANUALS & LABOR GUIDES 1982-2013 Vehicles
Courtesy of Operation CHARM: Car repair manuals for everyone.

Fuel Injection Control

FUEL INJECTION CONTROL

- The ECM receives signals from various sensors and based on them, it determines the amount of fuel injected and the fuel injection timing. It performs the sequential fuel injection control over the entire engine operating range except during start-up of the engine.
- The amount of fuel injected depends upon the length of time the injector stays open The fuel injection duration is determined according to varying operating condition of the engine. For the purpose of achieving highly responsive and accurate fuel injection duration control, the ECM performs a new feedback control that incorporates a learning feature as detailed later.
- The sequential fuel injection control is performed such that fuel is injected accurately at the time when the maximum air intake efficiency can be achieved for each cylinder (i.e., fuel injection is completed just before the intake valve begins to open).


FUEL INJECTION DURATION

Fuel injection duration is basically determined as indicated below:
- During engine start-up:

The duration defined below is used.
- Duration of fuel injection during engine start-up Determined according to the engine coolant temperature detected by the engine coolant temperature sensor.

- During normal operation:

The duration is determined as follows:
Basic duration of fuel injection x Correction factors + Voltage correction time
- Basic duration of fuel injection.... The basic length of time fuel is injected. This is determined by two factors - the amount of intake air detected by the pressure sensor and the engine speed monitored by the crankshaft position sensor.
- Correction factors.
- Voltage correction time... This is added to compensate for the time lag before operation of injector that results from variation in the battery voltage.

CORRECTION FACTORS

The following factors are used to correct the basic duration of fuel injection in order to make the air-fuel ratio meet the requirements of varying engine operating conditions:
- Air-fuel ratio feedback factor:
This factor is used to correct the basic duration of fuel injection in relation to the actual engine speed.
- Start increment factor:
This factor is used to increase the fuel injection duration only while the engine is being cranked to improve its startability.
- Coolant-temperature-dependent increment factor:
This factor is used to increase the fuel injection duration depending on engine coolant temperature signals to facilitate cold starting. The lower the coolant temperature, the greater the increment.
- After-start increment factor:
- This factor is used to increase the fuel injection duration for a certain period immediately after start of the engine to stabilize engine operation.
- The increment depends on the coolant temperature at the start of the engine.
- Wide-open-throttle increment factor:
This factor is used to increase the fuel injection duration depending on the relationship between the throttle position sensor signal and pressure sensor signal.
- Acceleration increment factor:
This factor is used to increase the fuel injection duration to compensate for a time lag between air flow measurement and fuel injection control for better engine response to driver's pedal operation during acceleration.

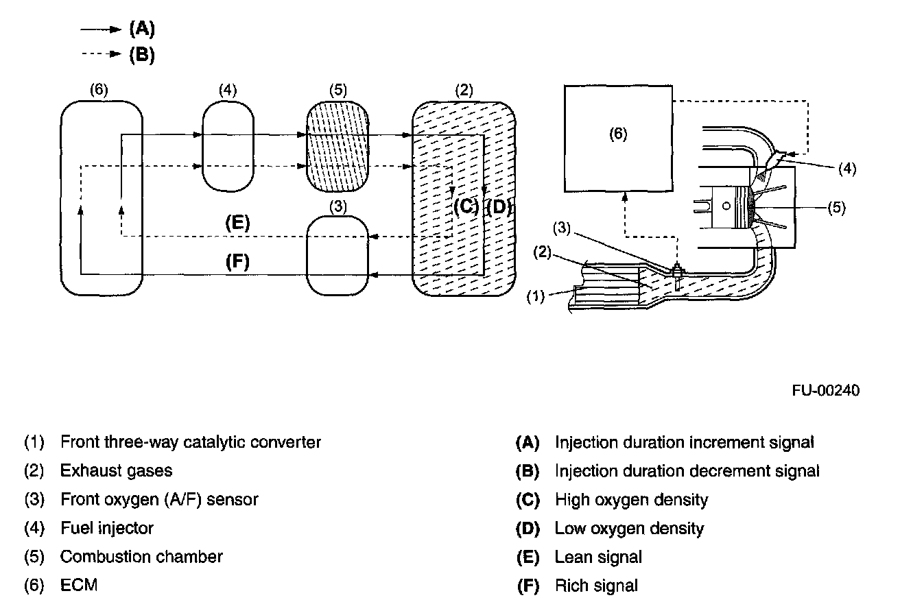
AIR-FUEL RATIO FEEDBACK FACTOR




The ECM creates this factor utilizing the front oxygen (A/F) sensor signal. When the signal voltage is high, the air-fuel ratio is richer than the stoichiometric ratio. The ECM then makes the fuel injection duration shorter by modifying the factor. When the voltage is low showing that the mixture is lean, the ECM modifies the factor to make the injection duration longer. In this way, the air-fuel ratio is maintained at a level close to the stoichiometric ratio at which the three-way catalytic converter acts most effectively.

LEARNING FEATURE

The air-fuel ratio feedback control includes a learning feature which contributes to more accurate and responsive control.
- In the air-fuel ratio feedback control, the ECM calculates the necessary amount of correction based on data from the oxygen sensor and adds the result to the basic duration (which is stored in the ECM's memory for each condition defined by the engine speed and various loads.)
- Without a learning feature, the ECM carries out the above-mentioned process every time. This means that if the amount of necessary correction is large, the air-fuel ratio feedback control becomes less responsive and less accurate.
- The learning feature enables the ECM to store the amount of correction into memory and add it to the basic fuel injection duration to create a new reference fuel injection duration. Using the reference duration as the basic duration for the injection a few times later, the ECM can reduce the amount of correction and thus make its feedback control more accurate and responsive to changes in the air-fuel ratio due to difference in driving condition and sensor/actuator characteristics that may result from unit-to-unit variation or aging over time.