FREE REPAIR MANUALS & LABOR GUIDES 1982-2013 Vehicles
Courtesy of Operation CHARM: Car repair manuals for everyone.

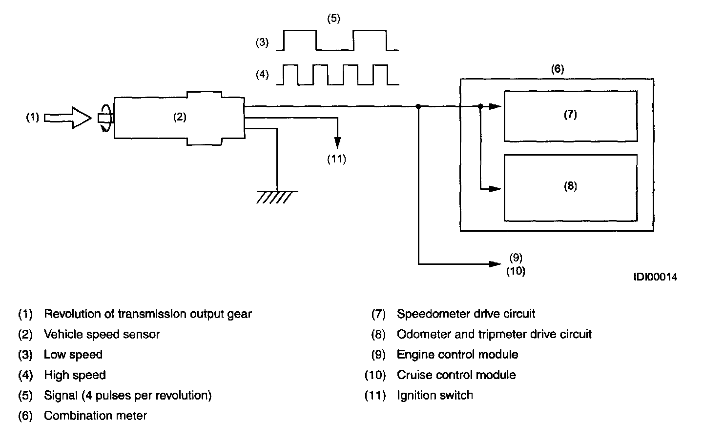
VSS Operation

The vehicle speed sensor uses a Hall IC pick-up to generate speed signals (MT model). This sensor is installed on the transmission case and detects rotating speed of the transmission output gear.

The sensor generates 4 pulses per rotation of the speed sensor driven shaft and send them to the speedometer.

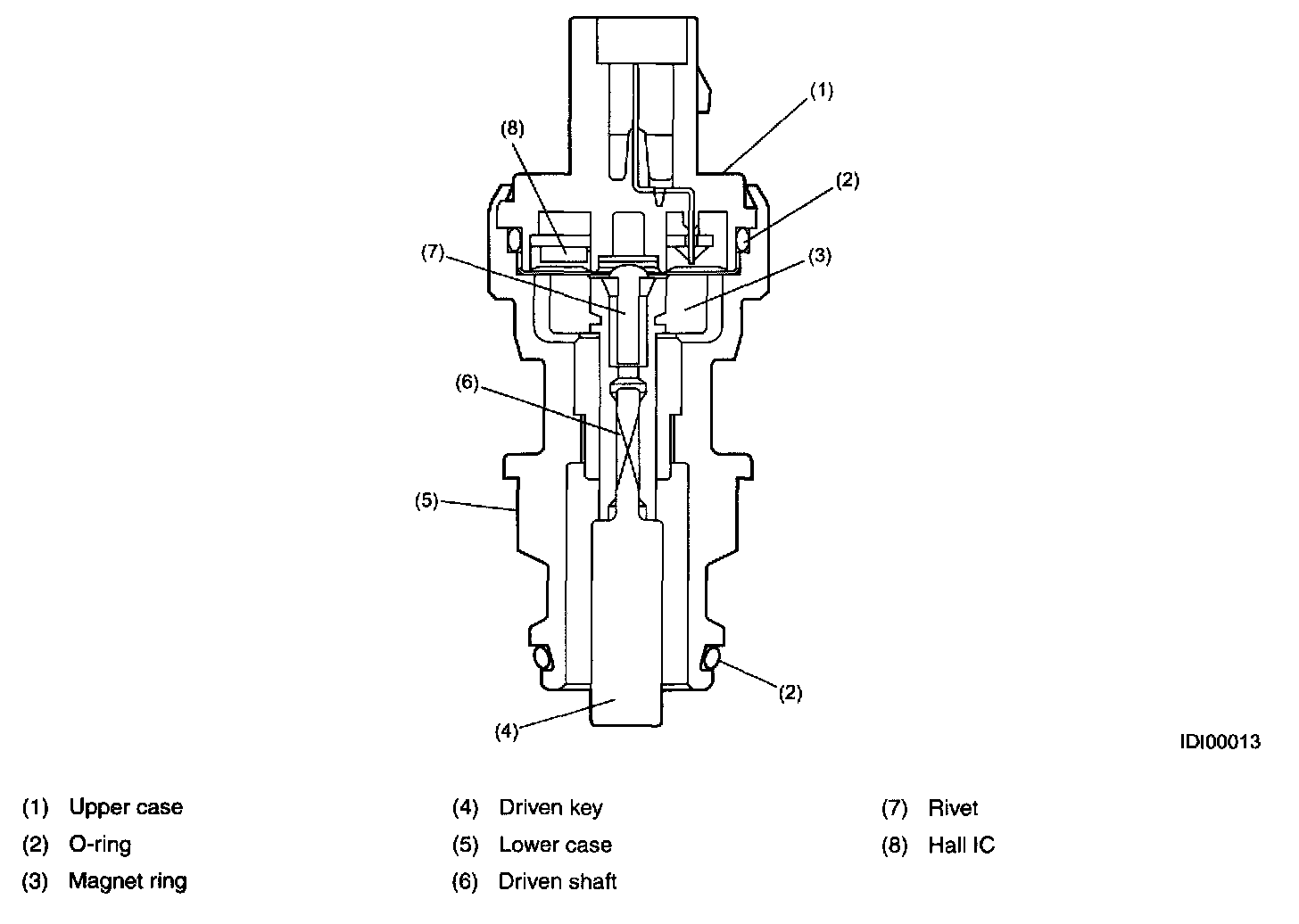
CONSTRUCTION




The speed sensor mainly consists of a Hall IC, magnet ring, driven shaft and spring.

OPERATION




As the driven key rotates, the magnet turns causing the magnetic field of the Hall IC to change. The Hall IC generates a signal that corresponds to a change in the magnetic field.

One turn of the driven key in the speed sensor sends 4 pulses to the combination meter, engine control module and cruise control module.