FREE REPAIR MANUALS & LABOR GUIDES 1982-2013 Vehicles
Courtesy of Operation CHARM: Car repair manuals for everyone.

System Specifications

SPECIFICATIONS











Note: STD: Standard I.D.: Inner Diameter O.D.: Outer Diameter US: Undersize OS: Oversize





TIMING BELT





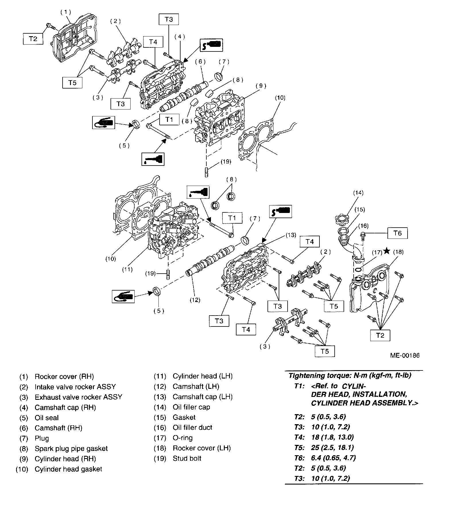
CYLINDER HEAD AND CAMSHAFT

CAMSHAFT SPROCKETS 78 Nm (8.0 kgf-m, 57.9 ft-lb)

INTAKE MANIFOLD
Manifold to Cylinder Head 25 Nm (2.5 kgf-m, 18.1 ft-lb)






VALVE ROCKER ASSEMBLY

Part 1 Of 2:




Part 2 Of 2:




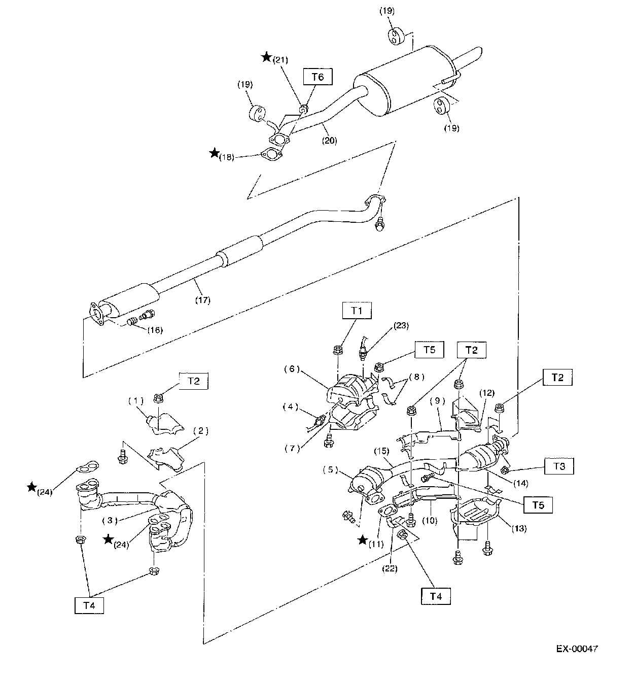
EXHAUST MANIFOLD