FREE REPAIR MANUALS & LABOR GUIDES 1982-2013 Vehicles
Courtesy of Operation CHARM: Car repair manuals for everyone.

Air Line

GENERAL
The air filtered by the air cleaner enters the throttle body where it is regulated in the volume by the throttle valve and then enters the intake manifold. It is then distributed to each cylinder where the air is mixed with fuel injected by the injector. During idling operation, air flows into the cylinder through the idle air control solenoid valve, bypassing the throttle valve. This enables controlling the engine idling speed properly.





PRESSURE SENSOR
The pressure sensor is mounted on the top of the throttle body and measures the absolute air pressure in the intake manifold.
The measured pressure is converted into an electrical signal and sent to the ECM. The ECM uses these signals to control injection and ignition timing as well as the fuel injection amount.





THROTTLE BODY
- In response to operation of the accelerator pedal, the throttle valve in the throttle body opens/closes to regulate the volume of the air drawn into the combustion chamber.
- During idling, the throttle valve is almost fully closed and the volume of air passing through the throttle body is less than that passing through the idle air control solenoid valve.
- More than half of the air necessary for idling is supplied to the intake manifold via the idle air control solenoid valve which controls properly the engine idling speed, so the idling speed needs not be adjusted.
- To reduce shock when the throttle is slightly opened and enhance comfort, the inside of the throttle body is contoured in a spherical shape. (MT vehicles).





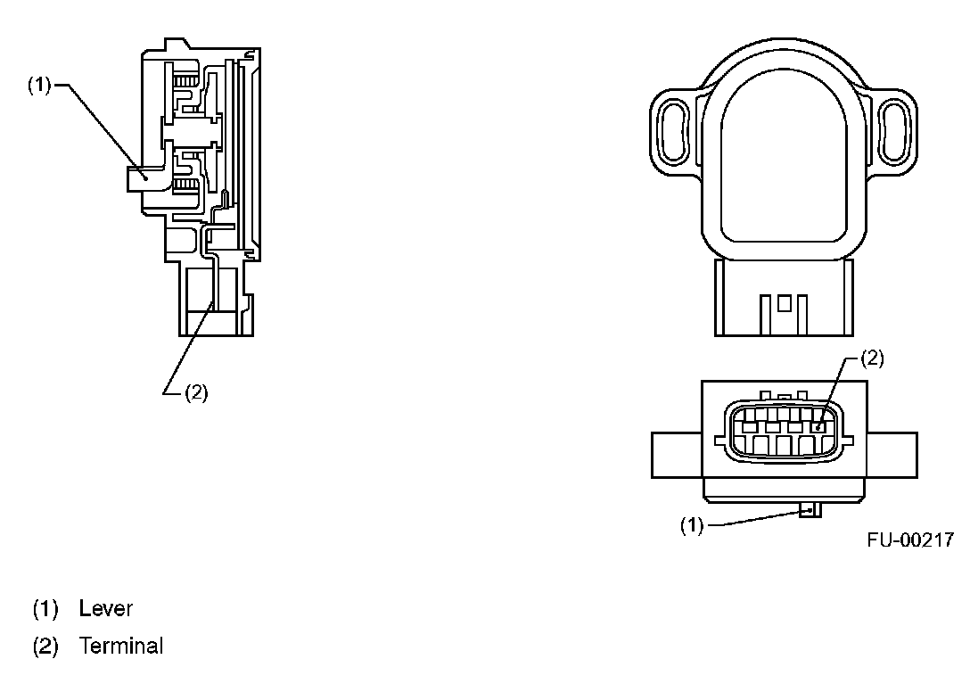
THROTTLE POSITION SENSOR
- The throttle position sensor is mounted in the throttle body and linked to the throttle valve.
- The throttle position sensor sends the ECM voltage signal corresponding to the opening of the throttle valve. When the sensor's output voltage exceeds a predetermined level, the ECM interprets it as complete closure of the throttle valve. When the output voltage is at another predetermined level, the ECM recognizes that the throttle valve is at a wide open position. Since the output characteristics of the sensor change over years, the ECM is provided with a learning function to be able to interpret signals into throttle valve angles always correctly.





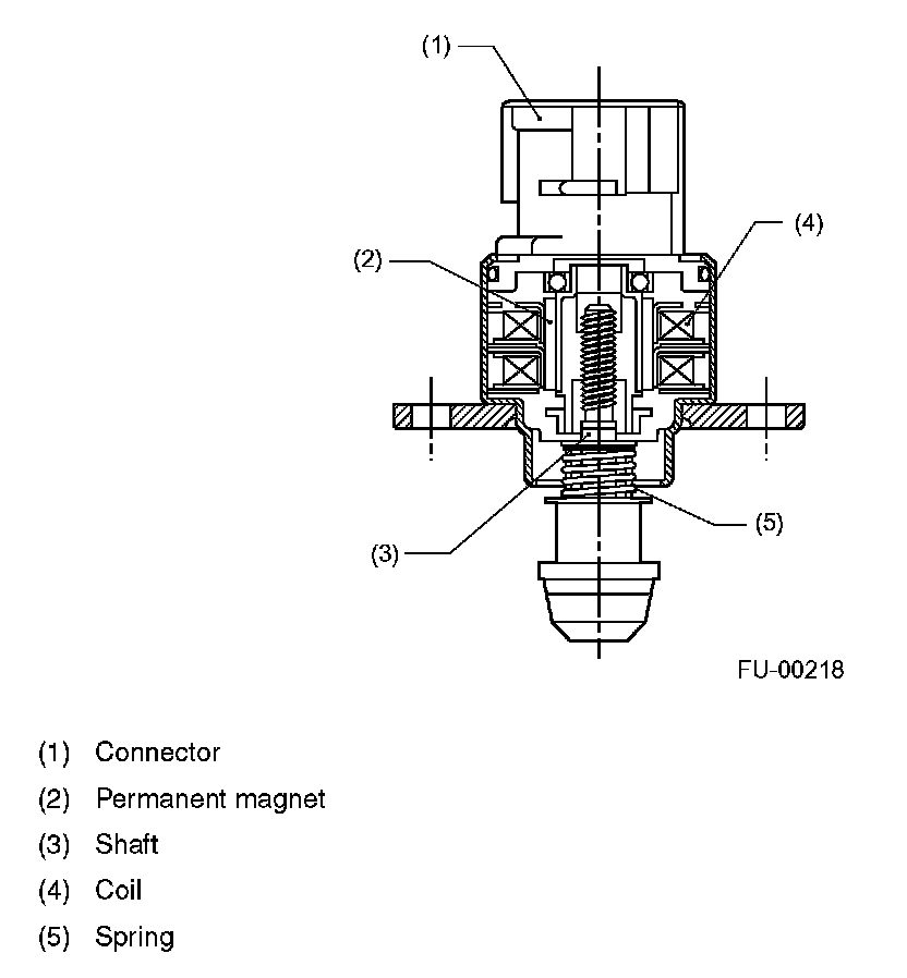
IDLE AIR CONTROL SOLENOID VALVE
- The idle air control solenoid valve is located in the throttle body and regulates the amount of intake air that flows bypassing the throttle valve into the intake manifold during engine idling. It is activated by a signal from the ECM in order to maintain the engine idling speed at a target speed.
- The idle air control solenoid valve is a stepping motor type solenoid-actuated valve which consists of coils, a shaft, a permanent magnet, a spring and a housing. The housing is an integral part of the throttle body.
- The stepping motor consists of two paired coils, the coils of each pair being arranged face to face with a shaft in between.
- The shaft has a screw at the end around which the permanent magnets are arranged.
- As current flows in the form of pulses through the paired coils sequentially while alternating the polarity, the N and S poles of the permanent magnets around the shaft are repelled by the same poles of the magnetism generated by the coils. This causes a nut externally fixed to the magnets and internally engaging with the screw of the shaft to turn.
The shaft then goes upward or downward.
- This upward and downward motions of the shaft open or close the valve port, adjusting the amount of bypass air.





INTAKE AIR TEMPERATURE SENSOR
The intake air temperature sensor is located in the air cleaner case and detects the temperature of the intake air introduced through the air intake duct. The ECM uses the resistance signal from the sensor to correct the fuel injection amount.





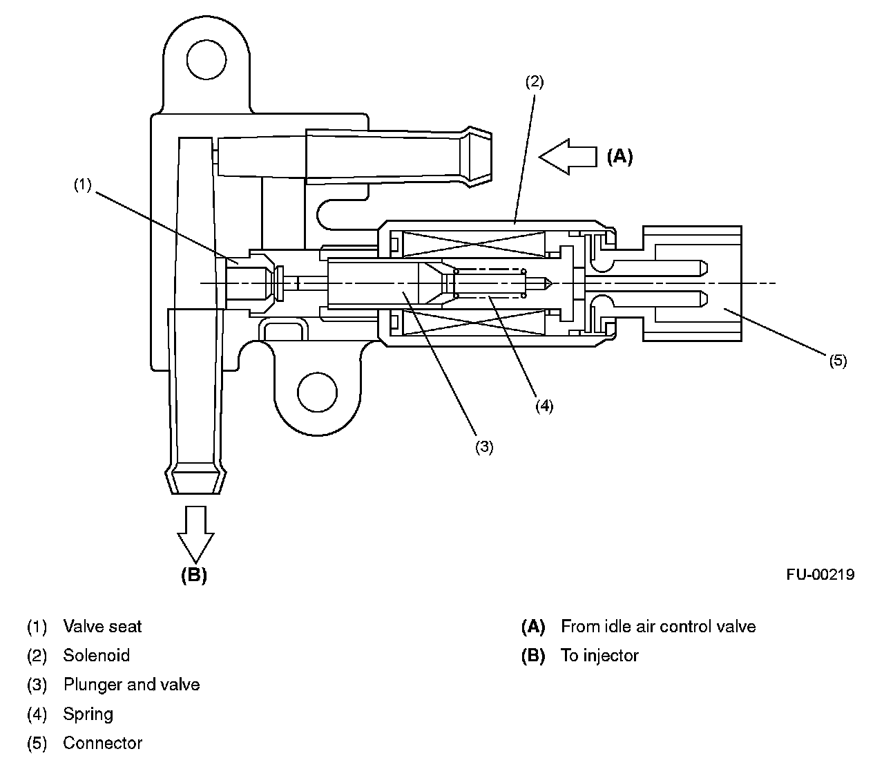
AIR ASSIST INJECTOR SOLENOID VALVE
The air assist injector solenoid valve is located in the piping between the throttle body and the injector and secured to the intake manifold. This solenoid valve is opened or closed by the signals from the ECM, adjusting the flow rate of air supplied to the injector.