FREE REPAIR MANUALS & LABOR GUIDES 1982-2013 Vehicles
Courtesy of Operation CHARM
:
Car repair manuals for everyone.
Home
>>
Subaru
>>
2003
>>
Impreza F4-2.5L SOHC
>>
Repair and Diagnosis
>>
Specifications
>>
Mechanical Specifications
>>
Axle Shaft Assembly
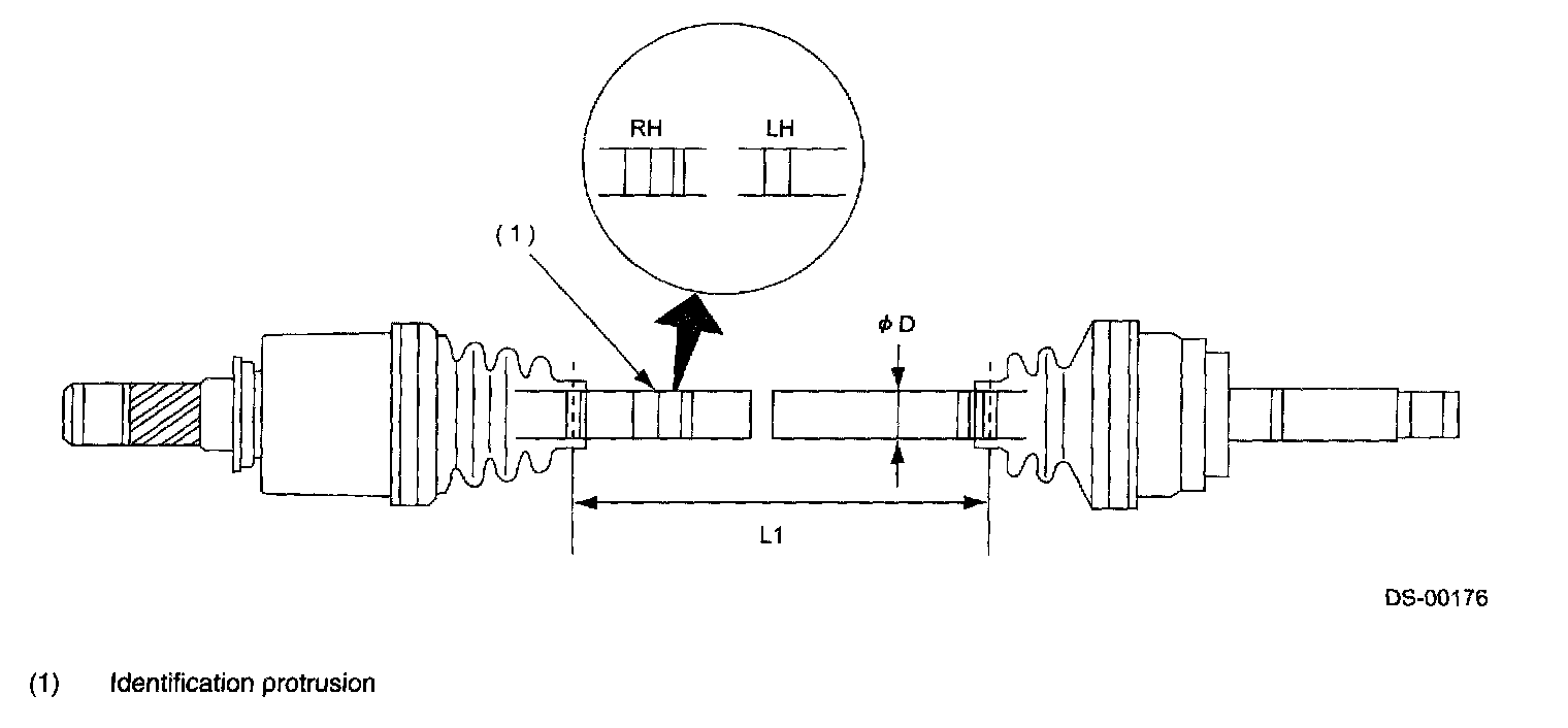
Axle Shaft Assembly
FRONT DRIVE SHAFT ASSEMBLY
REAR DRIVE SHAFT ASSEMBLY