FREE REPAIR MANUALS & LABOR GUIDES 1982-2013 Vehicles
Courtesy of Operation CHARM
:
Car repair manuals for everyone.
Home
>>
Subaru
>>
1988
>>
Hatchback 2WD F4-1781cc 1.8L SOHC
>>
Repair and Diagnosis
>>
Powertrain Management
>>
Computers and Control Systems
>>
Oxygen Sensor
>>
Testing and Inspection
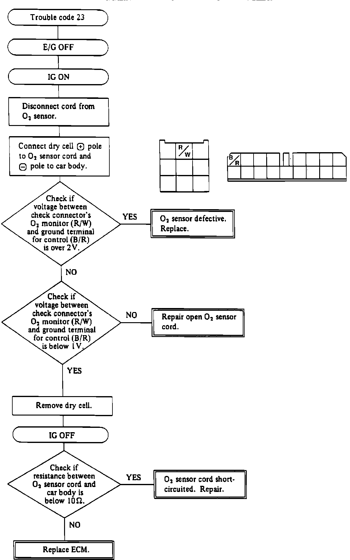
Oxygen Sensor: Testing and Inspection
Code 23 - Oxygen Sensor: