FREE REPAIR MANUALS & LABOR GUIDES 1982-2013 Vehicles
Courtesy of Operation CHARM: Car repair manuals for everyone.

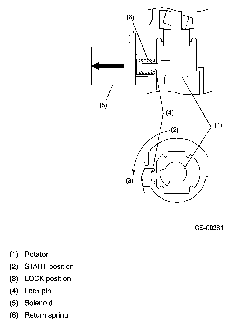
Key Interlock Function

KEY INTERLOCK FUNCTION




^ When the select lever is at any position other than P, the solenoid is energized and its guide pin extends to hold the lock pin in its pushed out position. Held in its extended position, the lock pin interferes with the stopper portion of the rotator which turns together with the ignition key. Thus, the ignition key cannot be rotated to the "LOCK" position.




^ When the select lever is moved to "P", the "P" position switch in the select lever assembly operates, deenergizing the solenoid. As the push force of the guide pin is removed, the return spring moves the lock pin toward the solenoid and the lock pin becomes clear of the rotator stopper. Then the key can be rotated to the LOCK position and removed from the ignition switch.