FREE REPAIR MANUALS & LABOR GUIDES 1982-2013 Vehicles
Courtesy of Operation CHARM: Car repair manuals for everyone.

Manual Transmission/Transaxle

Torque Specifications

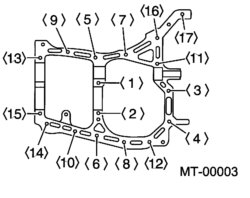
Transmission Case Torque

Transmission Case Tightening Torque (Part 1):





Bolts 5 to 15 (8 mm) 24.5 Nm (2.5 kgf-m / 18.1 ft. lbs.)
Bolts 1 to 4 (10 mm ) 39 Nm (4.0 kgf-m / 28.9 ft. lbs.)
Bolts 16 and 17 (10 mm ) 39 Nm (4.0 kgf-m / 28.9 ft. lbs.)