FREE REPAIR MANUALS & LABOR GUIDES 1982-2013 Vehicles
Courtesy of Operation CHARM: Car repair manuals for everyone.

Front Oxygen Sensor

Front Oxygen (A/F) Sensor

REMOVAL
1. Disconnect the ground cable from battery.




2. Disconnect the connector from the front oxygen (A/F) sensor.




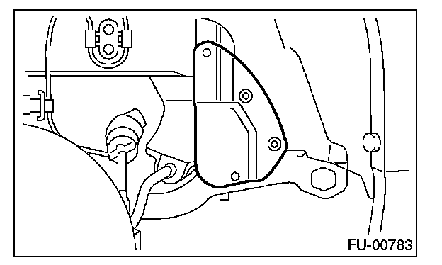
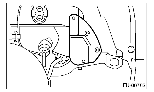
3. Disconnect the engine harness fixed by clip (A) from the bracket (B).
4. Remove the front right side wheel.
5. Lift-up the vehicle.




6. Remove the service hole cover.
7. Apply spray type lubricant to the threaded portion of front oxygen (A/F) sensor, and leave it for one minute or more.




8. Remove the front oxygen (A/F) sensor.

CAUTION: When removing the front oxygen (A/F) sensor, wait until exhaust pipe cools, otherwise it will damage exhaust pipe.

INSTALLATION
1. Before installing front oxygen (A/F) sensor, apply anti-seize compound only to the threaded portion of front oxygen (A/F) sensor to make the next removal easier.

Anti-seize compound:
NEVER-SEEZ NS-165 or equivalent

CAUTION: Never apply anti-seize compound to protector of front oxygen (A/F) sensor.




2. Install the front oxygen (A/F) sensor.




3. Install the service hole cover.
4. Lower the vehicle.
5. Install the front right side wheel.




6. Connect the engine harness to the bracket (B) using clips (A).




7. Connect the connector of front oxygen (A/F)sensor.
8. Connect the battery ground cable to battery.