FREE REPAIR MANUALS & LABOR GUIDES 1982-2013 Vehicles
Courtesy of Operation CHARM: Car repair manuals for everyone.

Power Steering Line/Hose: Service and Repair

Pipe Assembly

REMOVAL
Disconnect the ground cable from battery.
Lift-up the vehicle, and then remove the jack-up plate.








Remove the one pipe joint at the center of gearbox, and then connect the vi joint. Discharge fluid by turning steering wheel fully clockwise and counterclockwise fluid similarly from the other pipe.








Remove the clamp E from pipes C and D.








Disconnect the pipe C and D from gear box.








Saab 9-2X 2.5i Linear
Remove the air intake duct.
Remove the bolt A.
Disconnect the pipe C from oil pump. Disconnect the pipe D from return hose.

Important:
^ Do not allow fluid from the hose end to come into contact with pulley belt.
^ To prevent foreign matter from entering the hose and pipe, cover the open ends of them with a clean cloth.








Saab 9-2X 2.0T Aero
Remove the air cleaner.
Remove the coolant filler tank.





Remove the two bolts fixing pipe C and D.
Disconnect the pipe C from oil pump. Disconnect the pipe D from return hose.

Important:
^ Do not allow fluid from the hose end to come into contact with pulley belt.
^ To prevent foreign matter from entering the hose and pipe, cover the open ends of them with a clean cloth.








INSTALLATION
Temporarily tighten the two bolts fixing pipe C and D. (bolt A)

Note: Visually check that the hose between tank and pipe D is free from bending or twisting.

^ Saab 9-2X 2.5i Linear








^ Saab 9-2X 2.0T Aero








Connect the pipe D to oil tank.
Using a new gasket, connect the pipe C to oil pump.
Tightening torque: 39 Nm (4.0 kgf-m, 28.9 ft. lbs.)
Tighten the two bolts fixing pipe C and D. (bolt A)
Tightening torque: 13 Nm (1.3 kgf-m, 9.4 ft. lbs.)
Install the coolant filler tank. (Saab 9-2X 2.0T Aero)
Tightening torque:
T1: 19 Nm (1.9 kgf-m, 13.7 ft. lbs.)
T2: 21 Nm (2.1 kgf-m, 15.2 ft. lbs.)





Temporarily connect the pipe C and D to gear box.








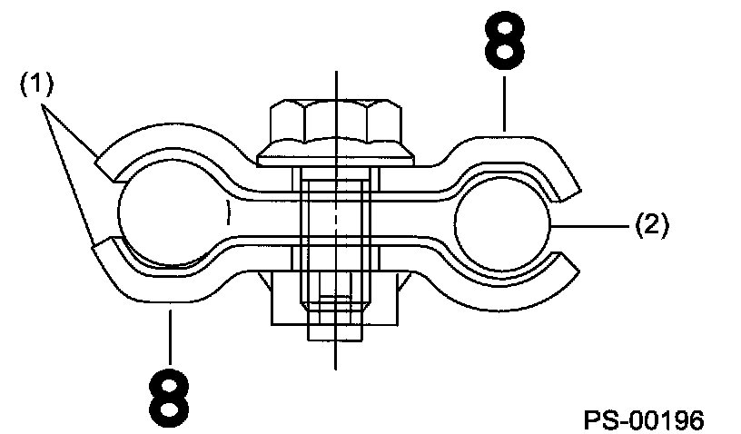
Temporarily install the clamp E on pipes C and D.

Note: Ensure the letter "B" on each clamp are diagonally opposite each other as shown in the figure.








Tighten the clamp E firmly.
Tightening torque: 7.4 Nm (0.75 kgf-m, 5.4 ft. lbs.)
Tighten the joint nut.
Tightening torque: 15 Nm (1.5 kgf-m, 10.8 ft. lbs.)
Connect the pipes A and B to four pipe joints of gearbox. Connect the upper pipe B first, and lower pipe A second.
Tightening torque:
Saab 9-2X 2.51 Linear: 13 Nm (1.3 kgf-m, 9.4 ft. lbs.)

Saab 9-2X 2.0T Aero:
Housing side: 20 Nm (2.0 kgf-m, 14.5 ft. lbs.)
Cylinder side: 24 Nm (2.4 kgf-m, 17.4 ft. lbs.)








Install the jack-up plate.
Install the air intake duct.
Install the air intake duct, air cleaner upper cover and air intake boot.
and
Connect the battery ground cable to battery.
Feed the specified fluid.

Important: Never start the engine before feeding the fluid; otherwise vane pump might be seized up.

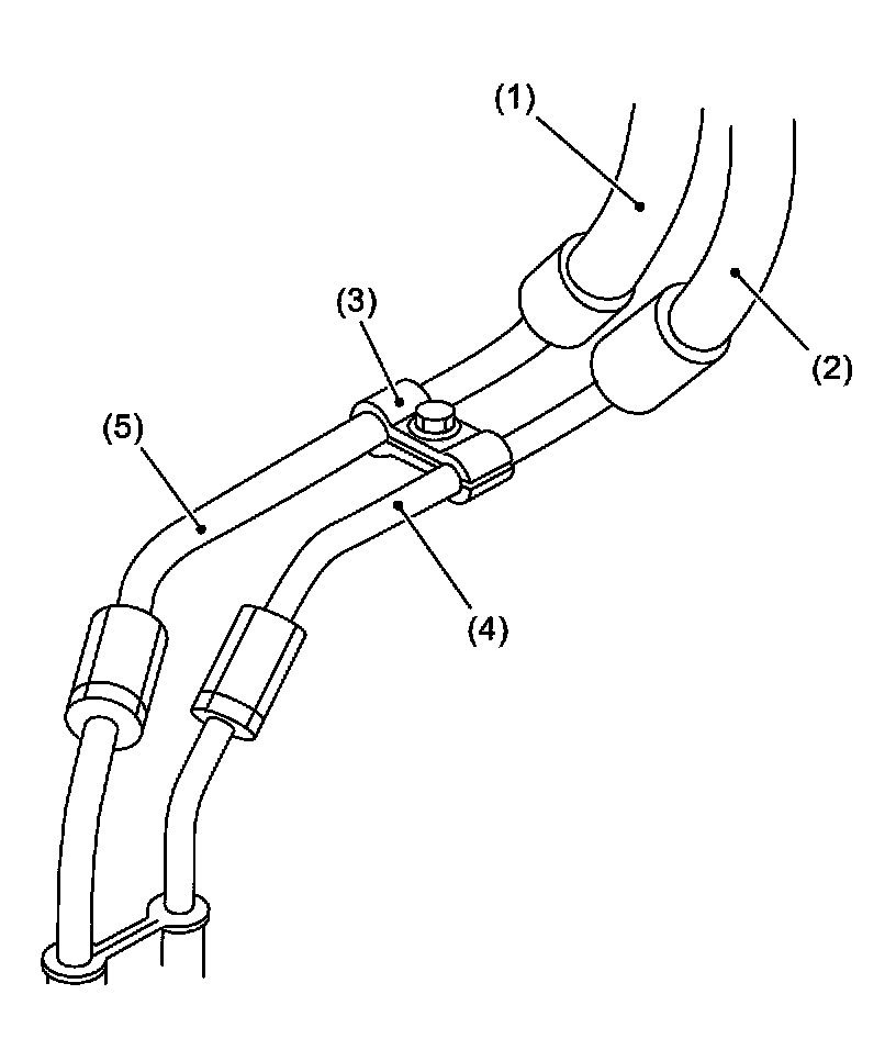
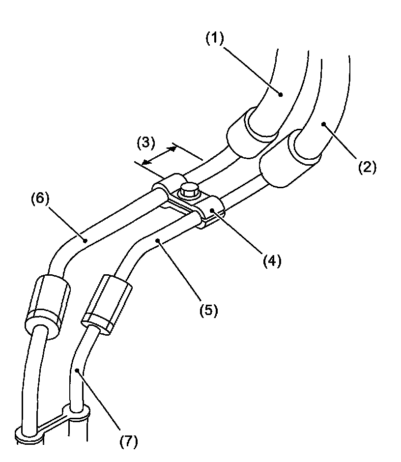
Finally check clearance between pipes and/or hoses, as shown above.
If cruise control actuator-to-power steering hose clearance is less than 10 mm (0.39 inch), move the portion (A) secured by clamp to other portion, or bend portion (B) to adjust.