FREE REPAIR MANUALS & LABOR GUIDES 1982-2013 Vehicles
Courtesy of Operation CHARM
:
Car repair manuals for everyone.
Home
>>
Saab
>>
2006
>>
9-2X F4-2.5L Turbo
>>
Repair and Diagnosis
>>
Diagrams
>>
Exploded Views
>>
Suspension
>>
System Diagram
>>
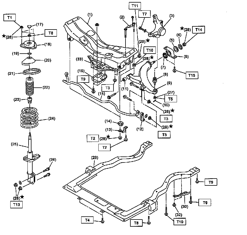
Front Suspension
Front Suspension
Front Suspension (Part 1):
Front Suspension (Part 2):