FREE REPAIR MANUALS & LABOR GUIDES 1982-2013 Vehicles
Courtesy of Operation CHARM: Car repair manuals for everyone.

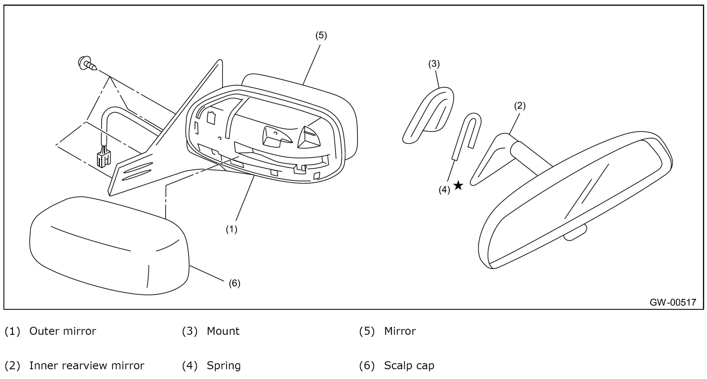
Rear View Mirror




Mirror:






REMOVAL

NOTE: The spring cannot be reused. Prepare a new spring before removal.

Turn the mirror base 90 degrees clockwise or counterclockwise to remove it.







Remove the spring from mirror base.







IMPORTANT: Be careful not to damage the mirror surface.

If the mirror base is damaged, remove the mirror base using piano wire or spatula, etc.

IMPORTANT: Be careful not to damage the windshield glass.

INSTALLATION

If removing the mirror base, remove the remaining adhesive thoroughly, and then fit the mirror base to mark on windshield glass to install.

Adhesive:
REPAIR KIT IN MR (Part No.32005173) or equivalent

Verify that the mirror base is adhered securely, and then install the spring.
Install in the reverse order of removal.

INSPECTION

Make sure the mirror is not damaged.
Make sure the spring is not deteriorated.