FREE REPAIR MANUALS & LABOR GUIDES 1982-2013 Vehicles
Courtesy of Operation CHARM: Car repair manuals for everyone.

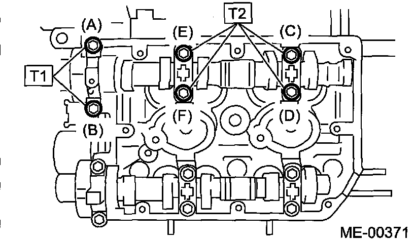
Camshaft Bearing

Camshaft Bearing Cap Bolts





Similarly, tighten the cap on exhaust side. After tightening the cap, ensure the camshaft rotates only slightly while holding it at base circle.
Tightening torque:
T1: 10 Nm (1.0 kgf-m, 7.4 ft. lbs.)
T2: 20 Nm (2.0 kgf-m, 14.5 ft. lbs.)