FREE REPAIR MANUALS & LABOR GUIDES 1982-2013 Vehicles
Courtesy of Operation CHARM: Car repair manuals for everyone.

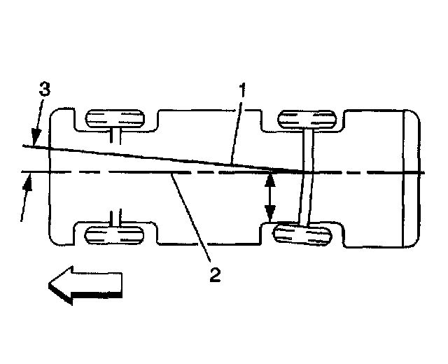
Thrust Angle Description





The front wheels aim or steer the vehicle. The rear wheels control tracking. This tracking action relates to the thrust angle. The thrust angle is the path that the rear wheels take. Ideally, the thrust angle is geometrically aligned with the body centerline (2).
In the illustration, toe-in is shown on the left rear wheel, moving the thrust line off center. The resulting deviation (3) from the centerline is the thrust angle (1).