FREE REPAIR MANUALS & LABOR GUIDES 1982-2013 Vehicles
Courtesy of Operation CHARM
:
Car repair manuals for everyone.
Home
>>
Oldsmobile
>>
2002
>>
Alero L4-2.2L VIN F
>>
Repair and Diagnosis
>>
Specifications
>>
Mechanical Specifications
>>
Engine
>>
System Specifications
>>
Thread Repair Specifications
>>
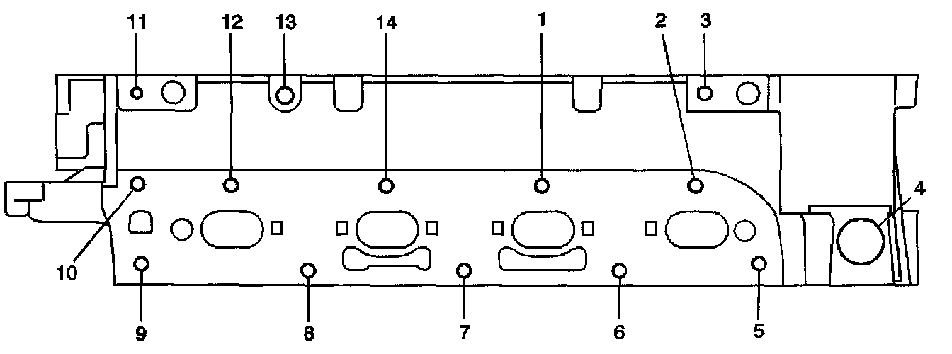
Cylinder Head-Exhaust Manifold Deck View
Cylinder Head-Exhaust Manifold Deck View
Cylinder Head-
Exhaust Manifold
Deck View
Part 1 of 2
Part 2 of 2