FREE REPAIR MANUALS & LABOR GUIDES 1982-2013 Vehicles
Courtesy of Operation CHARM: Car repair manuals for everyone.

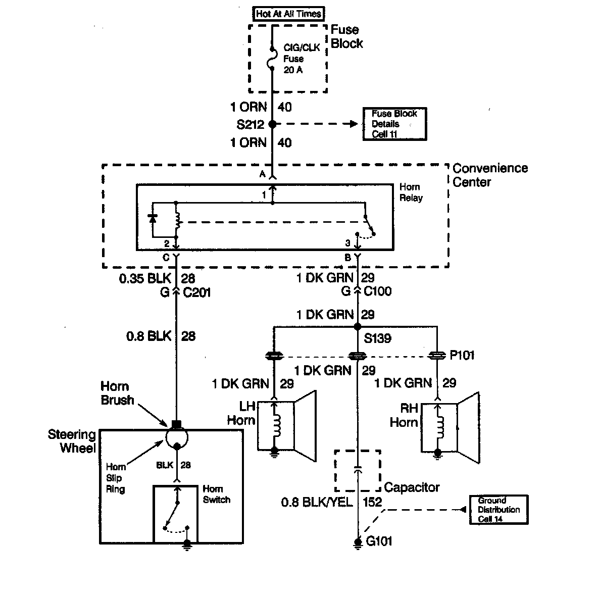
Electrical Schematics

IMPORTANT: The schematic does not represent the components and wiring as they physically appear on the vehicle. For example, a 4-foot length of wire is treated no differently in a schematic from one which is only a few inches long.

When diagnosing a horn problem use the service information located in the Horns service category. The following schematic is a typical example of a schematic with its supporting text.

How To Use Electrical Schematics:




The wiring schematic is the cornerstone of electrical diagnosis. Schematics break the entire electrical system into individual circuits, showing the electrical current paths when a circuit is operating properly. Wiring which is not part of the circuit of interest is referenced to another page where the circuit is shown complete. Schematics use a top (power) to bottom (ground) sequence to present electrical information.