FREE REPAIR MANUALS & LABOR GUIDES 1982-2013 Vehicles
Courtesy of Operation CHARM: Car repair manuals for everyone.

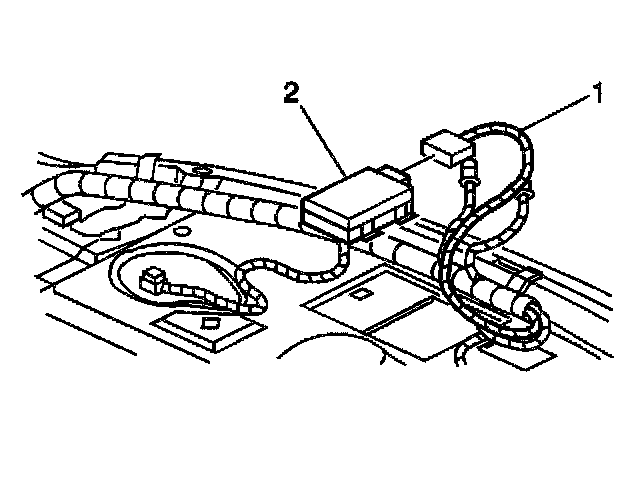
Keyless Entry Receiver: Service and Repair




REMOVAL PROCEDURE

CAUTION: Refer to Battery Disconnect Caution in Cautions and Notices.

1. Disconnect the negative battery cable.
2. Open the rear compartment lid.
3. Remove the remote door lock receiver (2). The receiver (2) is located between the rear package shelf and the rear package shelf cover, just to the right of the center access hole. Compress the four tabs and slide the receiver (1) down through the access hole.
4. Disconnect the electrical connector (1).

INSTALLATION PROCEDURE
1. Connect the electrical connector (1).
2. Install the receiver (1) through the access hole. Ensure that the mounting tabs are snapped into place.
3. Close the rear compartment lid.
4. Connect the negative battery cable.
5. Reprogram the new receiver to transmitter(s). Refer to Transmitter Synchronization. Transmitter Synchronization