FREE REPAIR MANUALS & LABOR GUIDES 1982-2013 Vehicles
Courtesy of Operation CHARM: Car repair manuals for everyone.

Removal Procedure

Removal Procedure
1. Disable the SIR system. Refer to Disabling the SIR System.
2. Remove the passenger front seat. Refer to Passenger Front Seat in Body and Accessories.
3. Remove the sill plate (RH). Refer to Sill Plate (RH) in Body and Accessories.
4. Lift up the carpet and insulation to access the inflatable restraint Sensing and Diagnostic Module (SDM).
5. Remove the Connector Position Assurance (CPA) (3) from the SDM harness connector (2).
6. Disconnect the SDM harness connector (2) from the SDM (1).

Description:




Description:




Description:





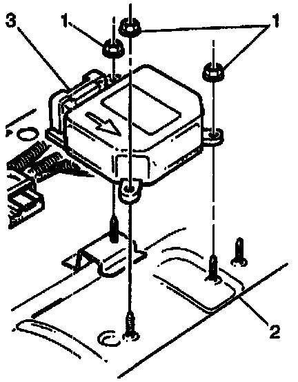
7. Remove the SDM (3) mounting fasteners (1).
8. Remove the SDM (3) from the floor sheetmetal (2).