FREE REPAIR MANUALS & LABOR GUIDES 1982-2013 Vehicles
Courtesy of Operation CHARM: Car repair manuals for everyone.

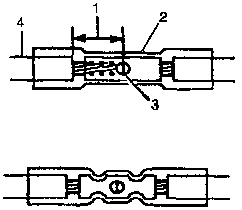
Splicing Copper Wire Using Splice Sleeves

Crimp And Seal Splice Chart:




Use crimp and seal splice sleeves to form a one-to-one splice on all types of insulation except tefzel and coaxial to form a one-to-one splice. Use tefzel and coaxial where there is special requirements such as moisture sealing. Follow the instructions below in order to splice copper wire using crimp and seal splice sleeves.

TOOLS REQUIRED
J 38125-B Terminal Repair kit

1. Open the harness.
^ If the harness is taped, remove the tape.
^ To avoid wiring insulation damage, use a sewing ripper in order to cut open the harness.
^ If the harness has a black plastic conduit, pull out the desired wire.
2. Cut the wire.
^ Cut as little wire off the harness as possible.
^ Ensure that each splice is at least 40 mm (1.5 in) away from other splices, harness branches, and connectors. This will help prevent moisture from bridging adjacent splices and causing damage.

Slicing Copper Wire Using Slice Sleeves:




3. Select the proper size and type of wire.
^ The wire must be of equal or greater size than the original.
^ The wire's insulation must have the same or higher temperature rating (4).
- Use general purpose insulation for areas that are not subject to high temperatures.
- Use a cross-linked polyethylene insulated wire for areas where high temperatures are expected.

IMPORTANT: Use Cross-linked polyethylene wire to replace PVC, but do not replace cross-linked polyethylene with PVC.

Cross-linked polyethylene wire is not fuel resistant. Do not use to replace wire where there is the possibility of fuel contact.

4. Strip the insulation.
^ Select the correct size opening in the wire stripper or work down from the largest size.
^ Strip approximately 7.5 mm (5/16 inches) of insulation from each wire to be spliced (1).
5. Select the proper splice sleeve (2) and the required crimp nest tool, refer to the Crimp and Seal Splice Table.
6. Place the nest tool in the J 38125 crimp tool.
7. Place the splice sleeve in the crimp tool nest so that the crimp falls at point 1 on the splice.
8. Close the hand crimper handles slightly in order to hold the splice sleeve firmly in the proper crimp tool nest.
9. Insert the wires into the splice sleeve until the wire hits the barrel stop. The splice sleeve has a stop in the middle of the barrel in order to prevent the wire from passing through the splice (3).
10. Close the handles of the J 38125 until the crimper handles open when released. The crimper handles will not open until the proper amount of pressure is applied to the splice sleeve.
11. Shrink the insulation around the splice.
^ Using the heat torch apply heat to the crimped area of the barrel.
^ Gradually move the heat barrel to the open end of the tubing.
- The tubing will shrink completely as the heat is moved along the insulation.
- A small amount of sealant will come out of the end of the tubing when sufficient shrinkage is achieved.