FREE REPAIR MANUALS & LABOR GUIDES 1982-2013 Vehicles
Courtesy of Operation CHARM
:
Car repair manuals for everyone.
Home
>>
Oldsmobile
>>
1996
>>
Ninety-Eight V6-3.8L VIN K
>>
Repair and Diagnosis
>>
Powertrain Management
>>
Computers and Control Systems
>>
EGR Valve Position Sensor
>>
Locations
EGR Valve Position Sensor: Locations
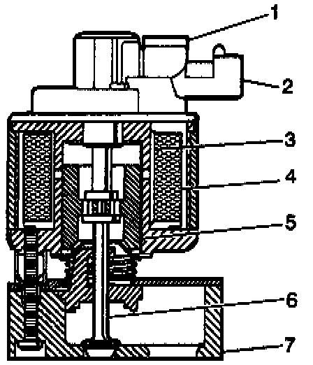
Internal View:
LEGEND
(1)
Cap-Sensor
(2)
Sensor-EGR Pintle Position
(3)
Pole Piece-Primary
(4)
Bobbin and Coil Assembly
(5)
Sleeve-Armature
(6)
Valve-Pintle
(7)
Armature and Base Assembly