FREE REPAIR MANUALS & LABOR GUIDES 1982-2013 Vehicles
Courtesy of Operation CHARM
:
Car repair manuals for everyone.
Home
>>
Oldsmobile
>>
1996
>>
Ninety-Eight V6-3.8L SC VIN 1
>>
Repair and Diagnosis
>>
Diagrams
>>
Electrical Diagrams
>>
Cruise Control
>>
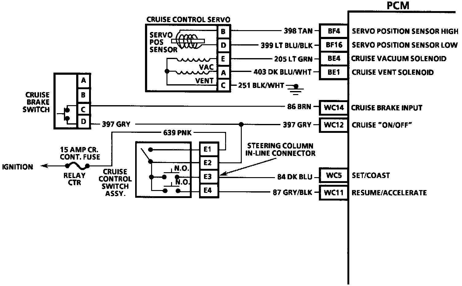
Control Module to PCM Wiring Schematic
Control Module to PCM Wiring Schematic
Fig. 6 Cruise Control System Check & Diagnostic Trouble Code Wiring Diagram.: