FREE REPAIR MANUALS & LABOR GUIDES 1982-2013 Vehicles
Courtesy of Operation CHARM: Car repair manuals for everyone.

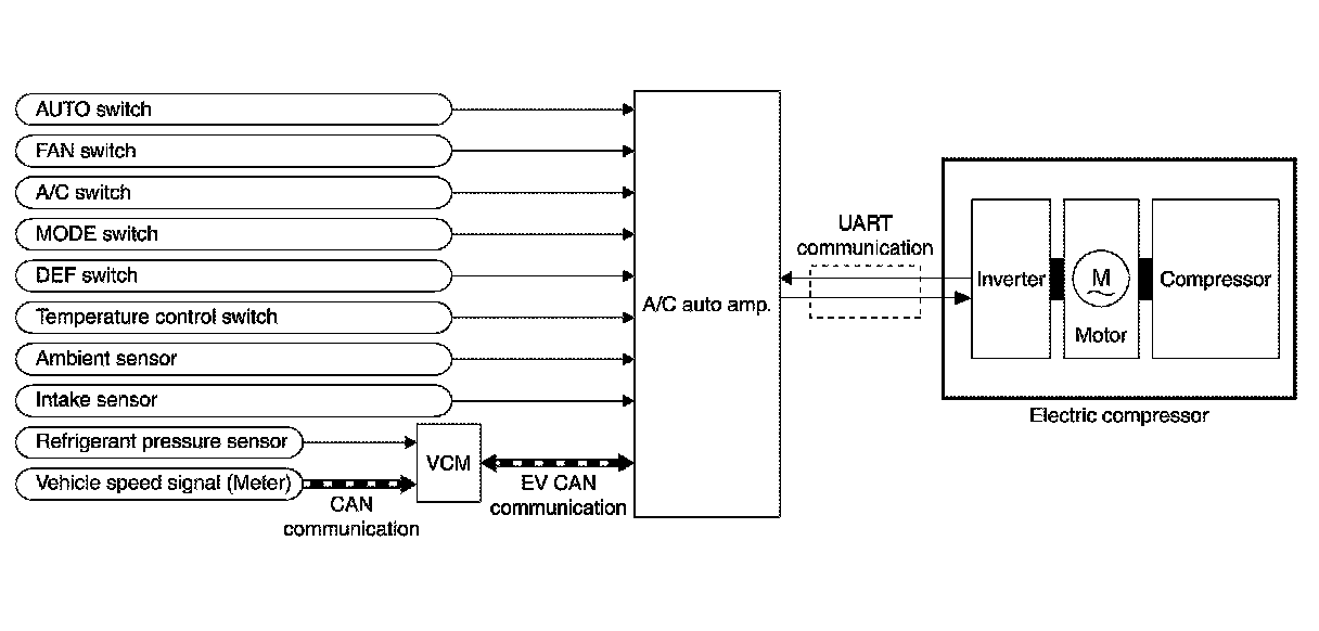
Compressor Control




SYSTEM

AUTOMATIC AIR CONDITIONING SYSTEM : Compressor Control


DESCRIPTION

- If the conditions for electric compressor operation are met while the blower fan motor is operating, then based on the various input signals, the A/C auto amp. calculates the compressor target speed that produces the target temperature [4�
C - 12�C (39.2�F - 53.6�F)] for the evaporator outlet temperature, and sends a speed command to the electric compressor via a communications signal.
- The electric compressor receives the A/C auto amp. command and controls the motor speed by means of its built-in inverter circuit, then transmits this status by communications.





Evaporator Cryoprotective Protection Control





- When intake air temperature sensor detects that air temperature after passing through evaporator is 1�
C (33.8�F) or less, A/C auto amp. sends a request to the electric compressor for a speed of 0
rpm, stopping compressor operation.
- When the air temperature after passing through evaporator reaches 4�
C (39.2�F) or more, operation of the electric compressor is resumed.
Compressor Protection Control at Pressure Malfunction
- When the refrigerant pressure on the high-pressure side (detected by the refrigerant pressure sensor) that is received from the VCM via EV system CAN communication is as shown below, the A/C auto amp. stops the compressor.
2
- Approximately 2.65 MPa (Approximately 27.0 kg/cm) or more
2
- Approximately 0.14 MPa (Approximately 1.4 kg/cm) or less
- When the refrigerant pressure on the high-pressure side returns to the range below, the A/C auto amp.
resumes operation of the electric compressor.
2
- Approximately 1.55 MPa (Approximately 15.8 kg/cm) or less
2
- Approximately 0.16 MPa (Approximately 1.6 kg/cm) or more