FREE REPAIR MANUALS & LABOR GUIDES 1982-2013 Vehicles
Courtesy of Operation CHARM: Car repair manuals for everyone.

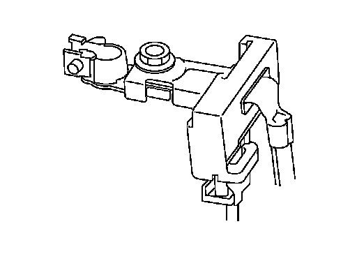
Battery Current Sensor (With Battery Temperature Sensor)




COMPONENT PARTS

Battery Current Sensor (With Battery Temperature Sensor)


BATTERY CURRENT SENSOR






The battery current sensor is installed to the negative cable of the battery. The battery current sensor detects the battery charge/discharge current and transmits signals to VCM. VCM judges the battery load based on these signals and controls the power generation by converting the target generation voltage to a power generation command signal and transmitting it to the DC/DC converter.

CAUTION:
Never connect the electrical component or the ground wire directly to the battery terminal. The connection causes the malfunction of the power voltage variable control, and may cause the battery to discharge.

BATTERY TEMPERATURE SENSOR

Battery temperature sensor is integrated in battery current sensor.
The sensor measures temperature around the battery.
This sensor uses a thermistor and its electrical resistance varies as the temperature varies. VCM detects a voltage change caused by the change in electrical resistance.