FREE REPAIR MANUALS & LABOR GUIDES 1982-2013 Vehicles
Courtesy of Operation CHARM
:
Car repair manuals for everyone.
Home
>>
Nissan-Datsun
>>
2011
>>
Leaf ELE-Electric Engine
>>
Repair and Diagnosis
>>
Electric Drive Systems
>>
Description and Operation
>>
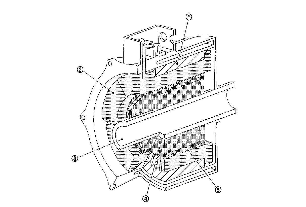
Structural Drawing
Structural Drawing
STRUCTURE AND OPERATION
Structural Drawing
MOTOR MECHANISM (DIAGRAM)