FREE REPAIR MANUALS & LABOR GUIDES 1982-2013 Vehicles
Courtesy of Operation CHARM: Car repair manuals for everyone.

Quick Charge Control




SYSTEM

LI-ION BATTERY CHARGE CONTROL : Quick Charge Control


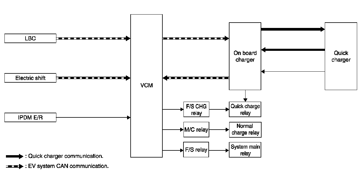
SYSTEM DIAGRAM







INPUT/OUTPUT SIGNAL TABLE







BASIC CONTROL

When the quick charge connector is connected to the quick charge port and the start switch of quick charger is pressed, the on-board charger transmits an EV system activation request signal to VCM. VCM then activates the F/S relay, M/C relay, and F/S CHG relay.
Next, VCM determines the target charge power based on the Li-ion battery chargeable power signal received from the Li-ion battery controller and the on-board charger chargeable power signal received from the onboard charger. VCM then sends the maximum charge power signal to the on-board charger.
The on-board charger converts the Maximum charge power signal to a charge current request signal and transmits it to the quick charger.
Simultaneously, the on-board charger activates the normal charge relay and the quick charge relay, and VCM
activates system main relay 1 and system main relay 2. Consequently, the quick charge starts.
When the charge amount reaches the prescribed amount and VCM receives the Li-ion battery charge completion signal from the Li-ion battery controller, VCM stops the charging.
NOTE:
- Even if the Li-ion battery remaining energy does not reach the predetermined level, VCM may stop the charge control after a certain period of time.
- When the Li-ion battery temperature reaches 60C (140�F) or higher, VCM temporarily stops quick charging and enters standby status.