FREE REPAIR MANUALS & LABOR GUIDES 1982-2013 Vehicles
Courtesy of Operation CHARM
:
Car repair manuals for everyone.
Home
>>
Nissan-Datsun
>>
2011
>>
Leaf ELE-Electric Engine
>>
Repair and Diagnosis
>>
Body and Frame
>>
Mirrors
>>
Service and Repair
>>
Door Mirror Assembly
>>
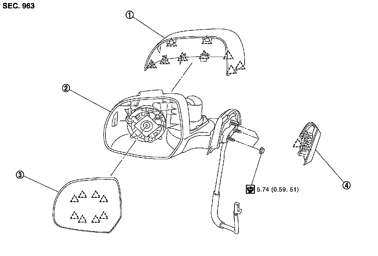
Exploded View
Exploded View
OUTSIDE MIRROR
Exploded View