FREE REPAIR MANUALS & LABOR GUIDES 1982-2013 Vehicles
Courtesy of Operation CHARM: Car repair manuals for everyone.

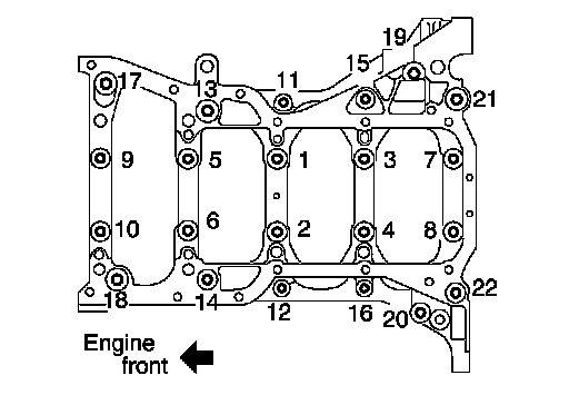
Main Bearing Cap

Main Bearing Cap






1. Tighten lower cylinder block bolts in the numerical order as shown and according to the following steps:

a. Apply new engine oil to threads and seat surfaces of the bolts.

b. Tighten bolts No. 11 - 22 only in the order as shown, to specification below.

Step 1, bolts 11 - 22 only : 25.1 N.m (2.6 kg-m, 19 ft-lb)

c. Tighten bolts No. 1 - 10 only in the order as shown, to specification below.

Step 2, bolts 1 - 10 only : 39.2 N.m (4.0 kg-m, 29 ft-lb)





d. Tighten bolts No. 1 - 10 only in the order as shown, to specification below using Tool.

CAUTION: Check tightening angle using Tool. Do not make judgment by visual inspection.

Tool number : KV 10112100 (BT-8653-A)

Step 3, bolts 1 - 10 only : 60° degrees rotation