Power Window Main Switch
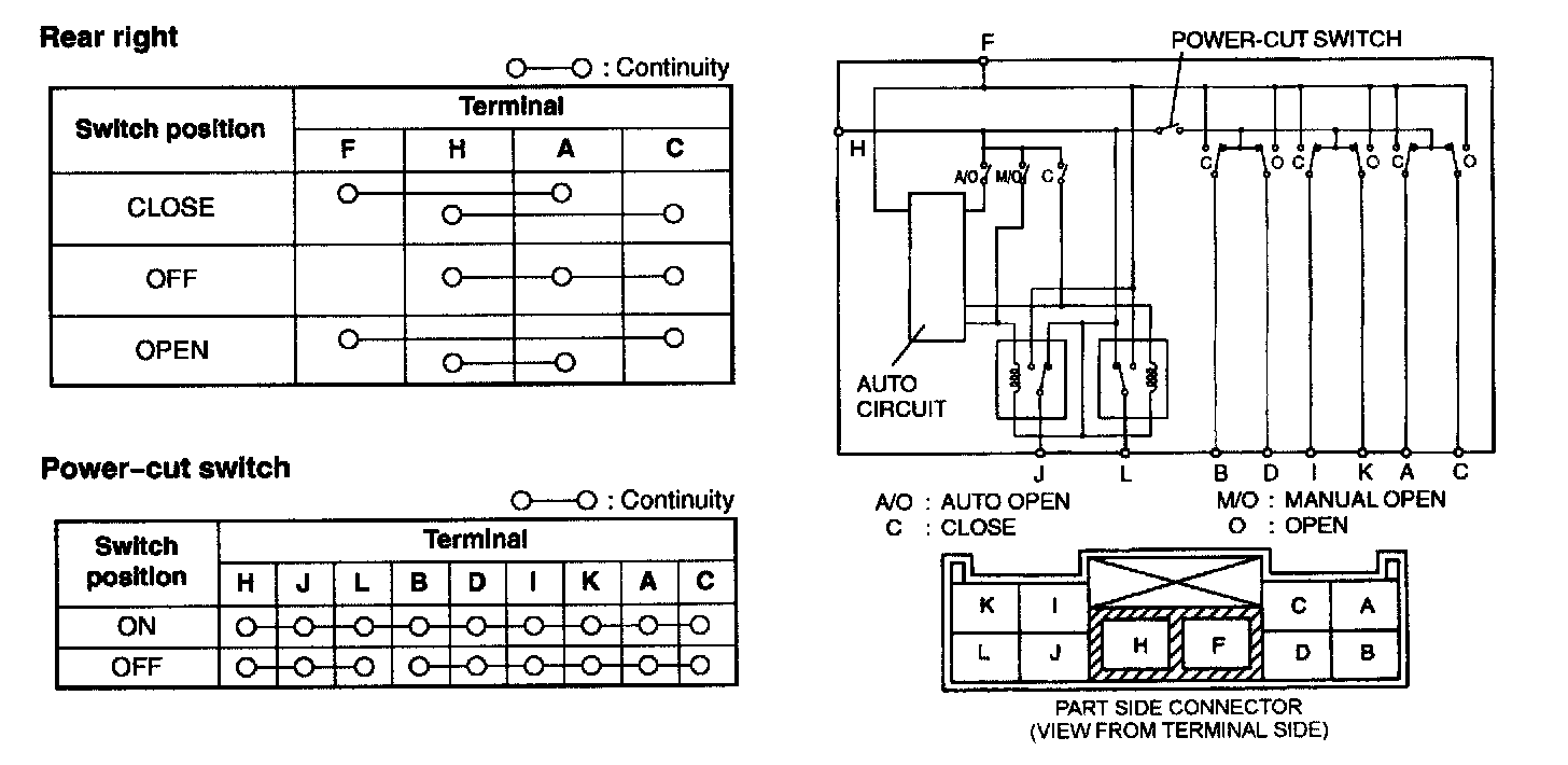
1. Remove the power window main switch.2. When inspecting the passenger's side and the rear, turn the power-cut switch to ON.
Driver's Side:
Passenger's Side:
Rear Left:
3. Inspect for continuity between the power window main switch terminals using an ohmmeter.
- If not as specified, replace the power window main switch.