Vehicle Speed Sensor (VSS)
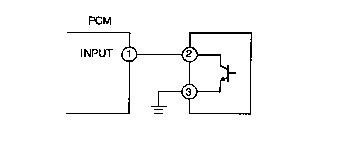
1. Measure the #1 PCM terminal voltage and confirm that it is at 0 V or 5 V when the ignition switch is at ON and the engine at idle.
- If it is at 0 V or 5 V, proceed to "Intermittent Diagnostic Test".
- If not, inspect the following points concerning the PCM connector.
- Female terminal opening loose.
- Coupler (pin holder) damage.
- Harness/pin clamp is loose or disconnected.
- Pin discoloration (blackness).
- If there is no problems, proceed to next step.
2. Measure the #2 sensor terminal voltage and confirm that it is at 0 V or 5 V when the ignition switch is at ON and the engine at idle.
- If it is at 0 V or 5 V, proceed to "Intermittent Diagnostic Test".
- If not, inspect for the following points concerning the sensor connector.
- If there are no problem, proceed to next step.
- Female terminal opening loose.
- Coupler (pin holder) damage.
- Pin discoloration (blackness).
- Harness/pin clamp is loose or disconnected.
3. Confirm that the #3 terminal switch voltage is at 0 V.
- If it is at 0 V, inspect the sensor.
- If necessary, replace the sensor.
- If not at 0 V, inspect for the following points.
- Open circuit in harness.
- Female terminal opening loose.
- Coupler (pin holder) damage.
- Pin discoloration (blackness).
- Harness/pin crimp is loose or disconnected.