FREE REPAIR MANUALS & LABOR GUIDES 1982-2013 Vehicles
Courtesy of Operation CHARM
:
Car repair manuals for everyone.
Home
>>
Mazda
>>
2000
>>
626 LX V6-2.5L DOHC
>>
Repair and Diagnosis
>>
Powertrain Management
>>
Computers and Control Systems
>>
Engine Control Module
>>
Testing and Inspection
>>
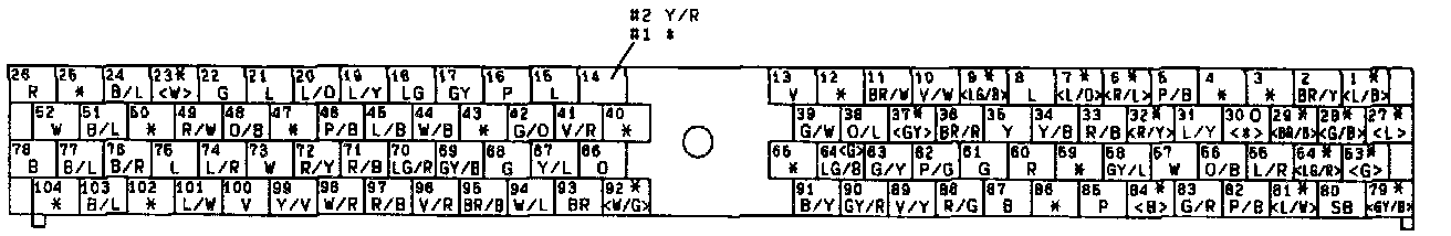
Control Module Pin Test Procedures
Control Module Pin Test Procedures
Terminals 1-19
Terminals 20-34
Terminals 35-51
Terminals 52-65
Terminals 66-85
Terminals 86-99
Terminals 100-104