FREE REPAIR MANUALS & LABOR GUIDES 1982-2013 Vehicles
Courtesy of Operation CHARM
:
Car repair manuals for everyone.
Home
>>
Mazda
>>
2000
>>
626 LX L4-2.0L DOHC
>>
Repair and Diagnosis
>>
Relays and Modules
>>
Relays and Modules - Powertrain Management
>>
Relays and Modules - Computers and Control Systems
>>
Engine Control Module
>>
Testing and Inspection
>>
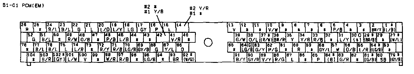
Control Module Pin Test Procedures
Control Module Pin Test Procedures
Terminals 1-22
Terminals 23-41
Terminals 42-62
Terminals 63-82
Terminals 83-96
Terminals 97-104