FREE REPAIR MANUALS & LABOR GUIDES 1982-2013 Vehicles
Courtesy of Operation CHARM: Car repair manuals for everyone.

Disassembly/Assembly

DISASSEMBLY




1. Remove the screws, and remove the drip rail.




2. Remove the screws.
3. Slide the sunshade backward, and remove it from the sunroof frame.




4. Pull the drip rail guide upward to disengage pins A and B from the guide.
5. Slide the drip rail guide backward, and remove it from the sunroof frame.




6. Remove the sunroof motor.
7. Slide the guide backward, and remove it from the sunroof frame.




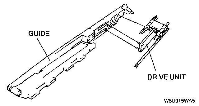
8. Remove the drive unit from the guide.
9. Remove the deflector.
10. Remove the sunroof control module.

ASSEMBLY
1. Install the sunroof control module.
2. Install the deflector.




3. Install the drive unit to the guide.




4. Install the guide to the sunroof frame by sliding it forward until reaches to the end of rail.




5. Adjust the drive unit, and insert an approximately 3.0 mm (0.12 in} diameter screwdriver or equivalent tool to align the drive unit with the guide.
6. Install the sunroof motor.
7. Slide the drip rail guide forward, and install it to the sunroof frame.




8. Push the drip rail guide downward to engage pins A and B to the guide.




9. Slide the sunshade forward, and install it to the sunroof frame.
10. Install the screws.




11. Install the screws, and install the drip rail.