FREE REPAIR MANUALS & LABOR GUIDES 1982-2013 Vehicles
Courtesy of Operation CHARM
:
Car repair manuals for everyone.
Home
>>
Lincoln
>>
2012
>>
MKZ FWD L4-2.5L Hybrid
>>
Repair and Diagnosis
>>
Specifications
>>
Mechanical Specifications
>>
Alignment
>>
Ride Height Measurement
Ride Height Measurement
Ride Height Measurement
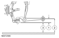
Front Ride Height Measurement
Rear Ride Height Measurement