FREE REPAIR MANUALS & LABOR GUIDES 1982-2013 Vehicles
Courtesy of Operation CHARM: Car repair manuals for everyone.

Alignment




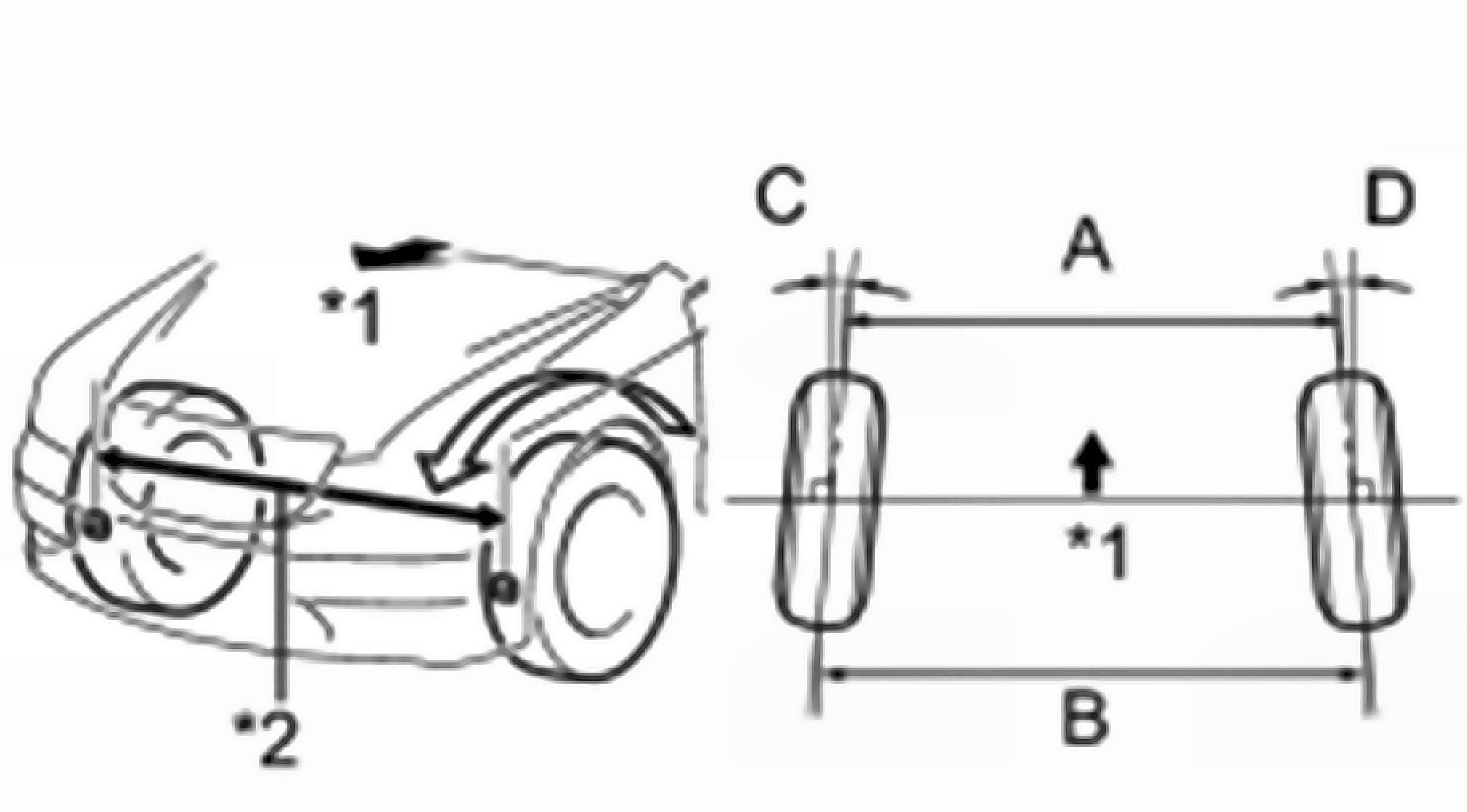
Wheel Alignment Specifications

Measurement Points:





A: Ground clearance of front lower suspension arm bushing set bolt center
B: Ground clearance of rear No. 2 suspension arm adjust bolt center
C: Ground clearance of front wheel center
D: Ground clearance of rear wheel center

Vehicle Height:





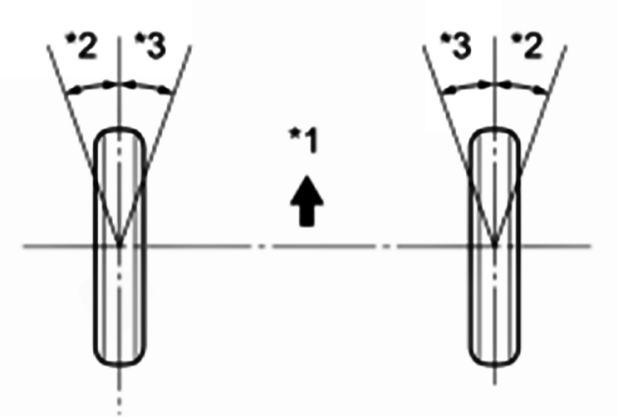
Camber and Caster:





Measurement Points:





Steering Axis and Toe-in:





Measurement Points:





Wheel Turning Angle: